Запчасти Case IH 1838 (4-14) - HORN (04) - ELECTRICAL SYSTEMS

Схема запчастей Case IH 1838 - (4-14) - HORN (04) - ELECTRICAL SYSTEMS
9
14
18
10
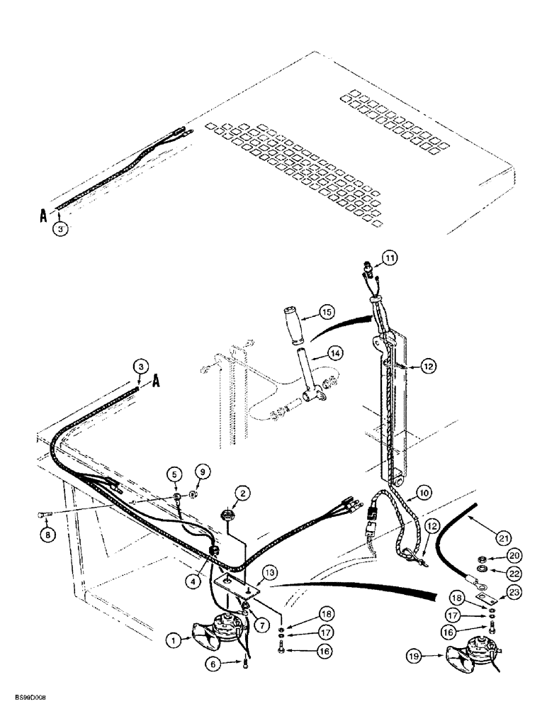
21
20
4
12
6
17
5
13
15
23
22
12
11
16
16
18
2
3
8
19
3
17
1
7
FIT
1:1
100%

Артикул

Название

Примечание

Количество

1

D123205

HORN

"A"

1шт.

12 volt, no longer available, for service order 254130A1 horn, 253606A1 bracket, 493-41026 washer and 825-1406 nut

1шт.

2

L30866

LOCK NUT

hex, special, horn mounting, used with D123205 horn

1шт.

3

D139709

HARNESS

horn and lamp

1шт.

4

248-2198

GROMMET,3/8" ID x 5/8" Groove Dia

rubber, 5/8 inch groove diameter

1шт.

5

D134077

ELECTRICAL WIRE

WIRE ground, used with D123205 horn

1шт.

6

440-1108

SCREW,Cross Pan Hd, #10-24 x 1/2"

machine, pan Phillips, used with D123205 horn, No. 10 NC x 1/2 inch

1шт.

7

193-1004

NUT,Keps, #10 - 24, w/ Ext Tooth LW

NUT hex, with external tooth lock washer, used with D123205 horn, No. 10 NC

1шт.

8

413-516

BOLT,Hex, 5/16" - 18 x 1", Gr 5

- hex, 5/16 NC x 1 inch

1шт.

9

193-1009

NUT,Keps, w/LW, 5/16"-18

hex, with external tooth lock washer, 5/16 NC

1шт.

10

D134076

HARNESS

horn switch

1шт.

11

D141486

SWITCH

button, horn

1шт.

12

L18337

CABLE TIE,9.95"-12.1" lg

STRAP tie, nylon, 15 inch

2шт.

13

D122734

SUPPORT

BRACKET horn mounting, used with D123205 horn

1шт.

14

D133283

LEVER

control, pump, loader, used on models with horn only, right-hand side

1шт.

15

D133282

HANDLE

GRIP control lever

1шт.

16

413-824

BOLT,Hex, 1/2" - 13 x 1-1/2", Gr 5

Existing ROPS hardware Hex, 1/2"-13 x 1 1/2", G5, Full Thd

1шт.

17

80679

LOCK WASHER,1/20.507 CST ZND

WASHER, LOCK, , Existing ROPS hardware 1/2"

1шт.

18

496-41053

WASHER,13.49mm ID x 31.75mm OD x 5.05mm Thk

flat, hardened, existing ROPS hardware, 17/32 x 1-1/4 x 3/16 inch

1шт.

19

254130A1

HORN

"A", 12 volt

1шт.

20

825-1406

NUT,M6, Cl 8

Used with 254130A1 horn, Ref. 19 M6, Cl 8

1шт.

21

254251A1

ELECTRICAL WIRE

WIRE ground, used with 254130A1 horn, Ref. 19

1шт.

22

493-41026

LOCK WASHER,Ext Tooth, 1/4"

WASHER external tooth lock, used with 254130A1 horn, 1/4 inch, Ref. 19

1шт.

23

253606A1

SUPPORT

BRACKET horn mounting, used with 254130A1 horn, Ref. 19

1шт.

Выбрано товаров: 24