Запчасти Case IH 1845B (082) - INJECTION NOZZLES, 188 DIESEL ENGINE (03) - FUEL SYSTEM

Схема запчастей Case IH 1845B - (082) - INJECTION NOZZLES, 188 DIESEL ENGINE (03) - FUEL SYSTEM
6
9
11
2
7
8
12
4
3
10
1
5
FIT
1:1
100%

Артикул

Название

Примечание

Количество

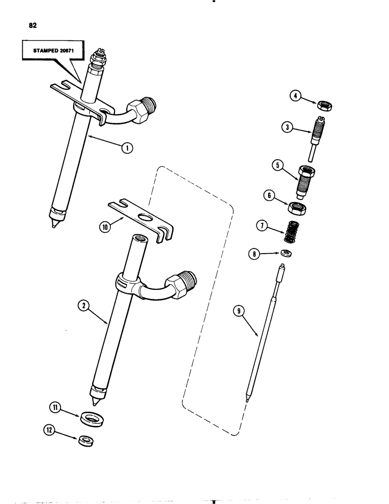
1

A140829

NOZZLE INJECTION

NOZZLE ASSEMBLY fuel injector, Stamped 20671 on body, White color code See Note, Inc: Refs. 3 - 12

4шт.

A140829R

REMAN-INJECT NOZZLE

1845B

4шт.

A140829C

CORE-NOZZLE, INJECT

Return Number

1шт.

2

NSS

NOT SOLD SEPARAT

BODY nozzle

1шт.

3

A43599

ADJUSTMENT SCREW,#10 - 56 x 1.39"

SCREW lift adjusting

1шт.

4

A43602

NUT

lock, lift adjusting screw

1шт.

5

A43600

ADJUSTMENT SCREW,#10 - 56 x 0.68"

SCREW pressure adjusting

1шт.

6

A42424

LOCK NUT

lock, pressure adjusting screw

1шт.

7

A43733

SPRING

pressure, 9/16 inch free length with red stain 14 mm

1шт.

8

A44369

SEAT

pressure spring

1шт.

9

NSS

NOT SOLD SEPARAT

VALVE nozzle

1шт.

10

A43506

PLATE ASSY.

PLATE nozzle hold down

1шт.

11

A41403

WASHER,9.55mm ID x 14.18mm OD x 3.38mm Thk

nozzle body, 3/8 x 9/16 x 1/8 inch nylon 10 x 14 x 3 mm

1шт.

12

A41402

SEAL,7.89mm ID x 9.74mm OD x 2.87mm Thk

carbon stop, 5/16 x 3/8 x 1/8 inch teflon 8 x 10 x 3 mm

1шт.

Выбрано товаров: 14