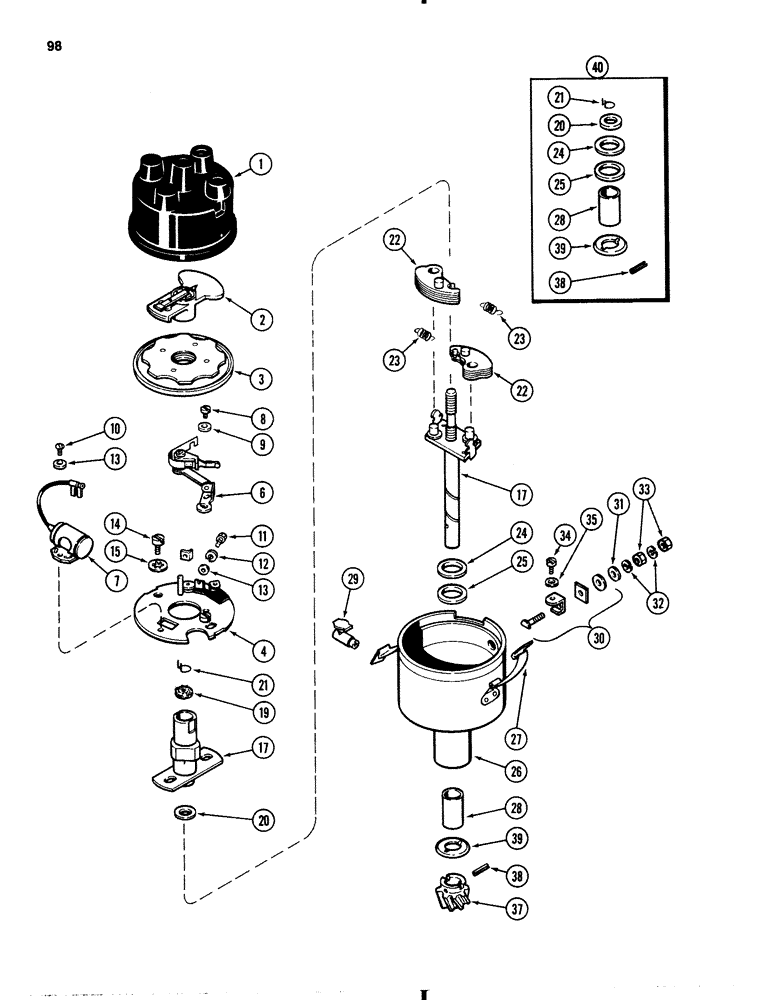
Запчасти Case IH 1845B (098) - A38970 DISTRIBUTOR, 159 SPARK IGNITION ENGINE (04) - ELECTRICAL SYSTEMS

Схема запчастей Case IH 1845B - (098) - A38970 DISTRIBUTOR, 159 SPARK IGNITION ENGINE (04) - ELECTRICAL SYSTEMS
3
2
33
7
6
21
27
26
38
25
24
22
20
8
37
39
30
23
20
31
13
28
12
9
28
17
15
40
32
10
24
35
22
19
39
4
25
17
23
21
14
29
11
38
1
34
13
FIT
1:1
100%

Артикул

Название

Примечание

Количество

A38970

DISTRIBUTOR

ASSEMBLY Prestolite No. IAD-6003-2K, Inc: Ref. 1 - 39

1шт.

1

A8368

CAP

ASSEMBLY with carbon brush and spring

1шт.

2

A8369

ROTOR

ASSEMBLY contact

1шт.

3

A25194

PLATE

COVER ASSEMBLY breaker plate, with dust seal

1шт.

4

A25196

PLATE

ASSEMBLY breaker, Inc: Ref. 6 - 13

1шт.

A40929

KIT

POINT AND CONDENSER SET, Inc: Ref. 6

1шт.

6

NSS

NOT SOLD SEPARAT

POINT SET

1шт.

7

A48371

CAPACITOR

CONDENSER

1шт.

8

177-72

SCREW points, fillister head, No. 8-36 x 3/16 inch

1шт.

9

192-16

LOCK WASHER,Helical Spring, #8, 0.17" ID, CST, ZND

Washer, Lock, #8

1шт.

10

177-56

SCREW condenser, fillister head, No. 6-40 x 3/16 inch

1шт.

11

171-216

SCREW,Sl Flat Hd, #6 - 32 x 5/16"

clamp, flat head, No. 6-32 x 5/16 inch

1шт.

12

192-15

LOCK WASHER,Helical Spring, #6, 0.145" ID, CST, ZND

Washer, Lock, #6

1шт.

13

195-506

WASHER,#6

5/32 x 5/16 x 1/32 inch, 4 x 8 x 1 mm

2шт.

14

177-94

SCREW,Sl Fil Hd, #10 - 32 x 5/16"

breaker plate, fillister head, No. 10-32 x 5/16 inch

2шт.

15

193-99

LOCK WASHER,Int Tooth, #10

WASHER, LOCK, Int Tooth, #10

2шт.

17

A42817

CAMSHAFT

ASSEMBLY, Inc: Ref. 19 - 23

1шт.

A42818

KIT

WICK KIT oiler, Inc: Ref. 19 - 20

1шт.

19

NSS

NOT SOLD SEPARAT

WICK oiler

1шт.

20

NSS

NOT SOLD SEPARAT

WASHER cam spacer

1шт.

Part of Bearing Kit, P/N A47694

1шт.

21

A25180

RING, SNAP

RING oil wick and cam retaining

1шт.

Part of Bearing Kit, P/N A47694

1шт.

22

A25198

WEIGHT

governor

2шт.

23

A25208

SET

SPRING SET governor weight Set of 2

1шт.

24

A24752

WASHER

thrust, inner

1шт.

Part of Bearing Kit, P/N A47694

1шт.

25

A24753

WASHER

thrust, outer

1шт.

Part of Bearing Kit, P/N A47694

1шт.

26

NSS

NOT SOLD SEPARAT

BASE distributor body

1шт.

27

A42815

PACKAGE

CLAMP ASSEMBLY, Package of 2

1шт.

28

NSS

NOT SOLD SEPARAT

BEARING body

1шт.

Part of Bearing Kit, P/N A47694

1шт.

29

A24887

OILER camshaft bearing

1шт.

30

A45242

BUSHING

TERMINAL STUD KIT

1шт.

31

195-505

WASHER,#4

flat, No.10

1шт.

32

192-18

LOCK WASHER,Helical Spring, #10, 0.196" ID, CST, ZND

WASHER, LOCK, #10

2шт.

33

129-37

NUT,#10-32

2шт.

34

174-56

SCREW round head, No. 6-32 x 3/16 inch

1шт.

35

192-15

LOCK WASHER,Helical Spring, #6, 0.145" ID, CST, ZND

Washer, Lock, #6

1шт.

A40323

GEAR

KIT distributor drive, Inc: Ref. 37 - 39

1шт.

37

NSS

NOT SOLD SEPARAT

GEAR drive

1шт.

38

138-56

LOCK PIN,1/8" x 11/16", Slotted

PIN, 1/8" x 11/16", Slotted

1шт.

Part of Bearing Kit, P/N A47694

1шт.

39

A25200

WASHER

thrust, drive gear

1шт.

Part of Bearing Kit, P/N A47694

1шт.

40

A47694

BEARING

KIT Includes: ref. nos. 20, 21, 24, 25, 28, 38, 39

1шт.

Выбрано товаров: 47