Запчасти Case IH 1845S (090) - FUEL INJECTION AND FILTER SYSTEM, (188) DIESEL ENGINE (10) - ENGINE

Схема запчастей Case IH 1845S - (090) - FUEL INJECTION AND FILTER SYSTEM, (188) DIESEL ENGINE (10) - ENGINE
5
15
21
19
44
22
42
35
16
14
43
39
20
38
6
7
6
35
38
7
1
40
45
9
5
3
46
8
37
20
37
2
12
29
13
41
4
28
30
FIT
1:1
100%

Артикул

Название

Примечание

Количество

1

REF

INSTRUCTION

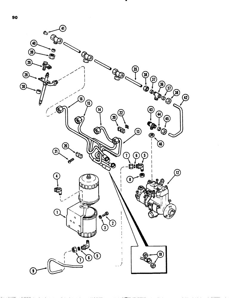
FILTER ASSEMBLY, fuel, See Figure 92

1шт.

2

13-514

BOLT,Hex, 5/16" - 18 x 7/8", Gr 5

Filter mounting Hex, 5/16"-18 x 7/8", G5, Full Thd

3шт.

3

92-5

LOCK WASHER,5/16"

3шт.

4

221-412

ELBOW,90 Degree, 1/4"-27, NPT

fuel inlet, 90 degree street

1шт.

5

222-47

ELBOW,90 Degree, 5/8"-24 Fem x 1/4"-27 NPTF

ASSEMBLY, filter outlet and pump inlet, Includes Ref. 6 and 7

2шт.

6

222-104

SLEEVE,3/8" Tube

for 3/8" Tube

1шт.

7

222-114

NUT,5/8"-24

NUT for 3/8" tube

1шт.

8

A38161

LOCK NUT

sealing, 1/4" PT hex, at pump inlet elbow

1шт.

9

A51784

TUBE

, Serial Range: filter-pump

1шт.

12

REF

INSTRUCTION

PUMP ASSEMBLY, injection, see Figure 94

1шт.

13

A37842

TUBE

ASSEMBLY, pump to No. 1 cylinder

1шт.

14

A37844

TUBE

ASSEMBLY, pump to No. 2 cylinder

1шт.

15

A37846

TUBE

ASSEMBLY, pump to No. 3 cylinder

1шт.

16

A37848

TUBE

ASSEMBLY, pump to No. 4 cylinder

1шт.

19

G49407

WASHER,9.63mm ID x 12.83mm OD x 1.65mm Thk

WASHER tube, banjo, Serial Range: end-pump

2шт.

20

A58709

BRACKET

CLAMP injection tubes

4шт.

21

173-102

SCREW,Sl Rnd Hd, #10 - 24 x 1"

clamp, round head, #10-24 x 1"

2шт.

22

131-612

SPRING NUT,Flat, #10 - 24, 0.022" Thk

NUT clamp screw, Tinnerman, #10

2шт.

28

REF

INSTRUCTION

NOZZLE ASSEMBLY, injector, see Figure 98

4шт.

29

A37837

CLAMP

nozzle hold down

4шт.

30

A37839

SPACER

nozzle clamp

4шт.

35

A38644

TUBE

leak off

3шт.

36

A58960

TEE,1/2" - 25 NPT x 1/2" - 25 NPT x 9/16" - 24 NPT

TEE leak off lines

4шт.

37

222-102

SLEEVE,1/4" Tube

8шт.

38

87017024

TUBE NUT,1/2"-24

NUT for 1/4" tube

8шт.

39

A58961

NUT

, Serial Range: nozzle-tee

4шт.

40

A58962

GROMMET,9.14mm ID x 12.82mm OD x 5.28mm Thk

, Serial Range: nozzle-tee

4шт.

41

47-47

RIVET,FH, 1/4" x 7/16"

PLUG leak off tee

1шт.

42

A142906

TUBE

leak off, to injection pump, Replaces: A51658

1шт.

43

222-72

TEE,1/4" Flex Tube Run x 1/8" NPTF Br

ASSEMBLY, injection pump, Includes ARef. 44 and 45

1шт.

44

222-102

SLEEVE,1/4" Tube

2шт.

45

87017024

TUBE NUT,1/2"-24

NUT for 1/4" tube

2шт.

46

A38160

LOCK NUT

sealing, pump tee, 1/8" PT

1шт.

Выбрано товаров: 33