Запчасти Case IH 40XT (08-17A) - CYLINDER - LOADER BUCKET, NA, ASN JAF0374550, EUROPE, ASN JAF0348069 (08) - HYDRAULICS

Схема запчастей Case IH 40XT - (08-17A) - CYLINDER - LOADER BUCKET, NA, ASN JAF0374550, EUROPE, ASN JAF0348069 (08) - HYDRAULICS
FIT
1:1
100%

Артикул

Название

Примечание

Количество

REF

INSTRUCTION

North America ASN JAF0374550, European Models ASN JAF0348069

1шт.

447169A1

CYLINDER ASSY.

2-1/2 x 14-1/2; Incl. 1 - 15

2шт.

87461812R

40XT ASN JAF0374550 Reman for new P/N 447169A1

REMAN-HYD CYLINDER

2шт.

87461812C

Return Number

CORE-HYD CYLINDER

1шт.

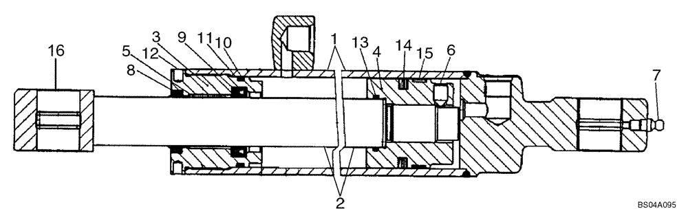
1

86988476

BARREL

Cylinder

1шт.

2

86988477

PISTON ROD

Incl 16

1шт.

3

86988478

BUSHING

1шт.

4

86988479

PISTON

1шт.

5

86988480

BEARING

1шт.

6

86988473

SET SCREW,M10 x 160mm

M10 x 1

1шт.

7

A52236

LUBE NIPPLE,M8 x 1

M8 x 1

1шт.

86988481

SEAL KIT

Incl. 8 - 15

1шт.

8

NSS

NOT SOLD SEPARAT

Wiper Ring; 35 x 45 x 7 mm

1шт.

9

NSS

NOT SOLD SEPARAT

Seal; 35 x 50 x 10 mm

1шт.

10

NSS

NOT SOLD SEPARAT

O-Ring; 58,74 x 3,53 mm

1шт.

11

NSS

NOT SOLD SEPARAT

Backring; 57,71 x 3 x 1,02 mm

1шт.

12

NSS

NOT SOLD SEPARAT

O-Ring; 63 x 2 mm

1шт.

13

NSS

NOT SOLD SEPARAT

O-Ring; 35,2 x 3 mm

1шт.

14

NSS

NOT SOLD SEPARAT

Piston Seal; 65 x 49,5 x 6 mm

1шт.

15

NSS

NOT SOLD SEPARAT

Piston Guide Ring; 65 x 9,5 x 2,5 mm

1шт.

16

30634

BUSHING,32.05mm ID x 38.18mm OD x 17.6mm L

2шт.

Выбрано товаров: 0