Запчасти Case IH 40XT (09-11) - PLATES, FLOOR (09) - CHASSIS

Схема запчастей Case IH 40XT - (09-11) - PLATES, FLOOR (09) - CHASSIS
7
1
2
6
7
6
5
3
4
6
6
5
FIT
1:1
100%

Артикул

Название

Примечание

Количество

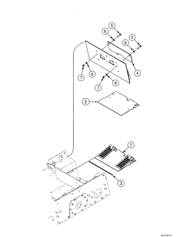
1

387013A1

PLATE ASSY.

Floor; North America Only

1шт.

2

433482A1

PLATE ASSY.

Floor; Europe Only

1шт.

3

381738A3

SEAL

Floor Plate; See Figure 09-35; Models With Floor Heater

1шт.

4

395037A1

PLATE

Cover, European Models; North American Models With Heater

1шт.

5

614-10025

BOLT,Hex, M10 x 1.5 x 25mm, Cl 8.8

European Models; North American Models with Heater

2шт.

7

832-41410

NUT,M10 x 1.5, Cl 10

European Models; North American Models with Heater

2шт.

6

895-11010

WASHER,11mm ID x 20mm OD x 2mm Thk

European Models; North American Models with Heater

4шт.

Выбрано товаров: 7