Запчасти Case IH 40XT (06-15) - PUMP, TANDEM (FRONT) 404281A2 (06) - POWER TRAIN

Схема запчастей Case IH 40XT - (06-15) - PUMP, TANDEM (FRONT) 404281A2 (06) - POWER TRAIN
14
12
27
28
2
4
13
7
6
1
21
5
24
22
4
18
5
25
19
20
15
26
16
3
21
7
8
10
17
6
9
22
23
11
FIT
1:1
100%

Артикул

Название

Примечание

Количество

404281A2

PUMP,46 CC

Tandem; Incl. 1 - 36; Also Incl. Parts On Figure 06-14 - 06-19

1шт.

87298032

REMAN-HYD PUMP

Remanufactured PUMP

1шт.

87298033

CORE-HYDRAULIC PUMP

Return No, PUMP

1шт.

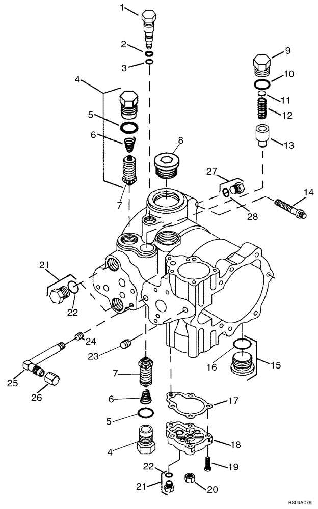
1

H436008

BY-PASS VALVE

Bypass

1шт.

2

S99877

BACK-UP RING,Split, 9.91mm ID x 12.65mm OD x 1.32mm Thk

1шт.

3

86993475

O-RING

1шт.

4

H436101

VALVE POPPET

Relief, Incl. 5 - 7

2шт.

5

237-6012

O-RING,0.116" Thk x 0.924" ID, -912, Cl 6, 90 Duro

1шт.

6

86993468

SPRING

1шт.

7

NSS

NOT SOLD SEPARAT

Plug

1шт.

8

NSS

NOT SOLD SEPARAT

Part Number Unavailable At Time Of Printing

1шт.

9

N13266

PLUG

1шт.

10

237-6010

O-RING,0.097" Thk x 0.755" ID, -910, Cl 6, 90 Duro

5/8 OD

1шт.

11

H407767

KIT

Shim

1шт.

12

244898A1

SPRING

Charge Relief Valve

1шт.

13

V38371

VALVE

Piston

1шт.

14

26044R1

12 PT SCREW,Flg, 1/2" - 13 x 2"

1шт.

15

9841223

PLUG,1-1/16" - 12 ORB

Incl. 16

1шт.

16

237-6012

O-RING,0.116" Thk x 0.924" ID, -912, Cl 6, 90 Duro

1шт.

17

N14063

GASKET

1шт.

18

H436065

COVER

1шт.

19

H438321

BOLT,M6 x 1 x 20mm, Cl 10.9

1шт.

20

N13260

NUT,Inverted Lock

1шт.

21

76349

PLUG,9/16" - 18 ORB

Incl. 22

2шт.

22

237-6006

O-RING,0.078" Thk x 0.468" ID, -906, Cl 6, 90 Duro

1шт.

23

F23137

PLUG

1шт.

24

86993479

PIPE PLUG,1/16" - 27

1/16

1шт.

25

86993480

ELBOW

1шт.

26

86993467

CAP

37 deg Flare

1шт.

27

9672438

PLUG,7/16" - 20 ORB

Incl. 28

1шт.

28

237-6004

O-RING,0.072" Thk x 0.351" ID, -904, Cl 6, 90 Duro

1шт.

Выбрано товаров: 31