Запчасти Case IH 60XT (09-06) - BUCKETS - LOADER (LOW PROFILE/ EXTENDED LOW PROFILE) (09) - CHASSIS

Схема запчастей Case IH 60XT - (09-06) - BUCKETS - LOADER (LOW PROFILE/ EXTENDED LOW PROFILE) (09) - CHASSIS
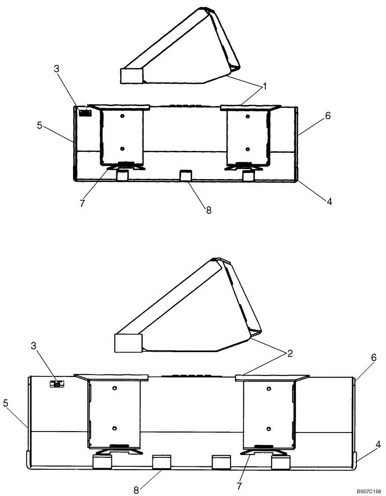
1
4
8
4
3
5
3
8
6
7
6
2
7
5
FIT
1:1
100%

Артикул

Название

Примечание

Количество

REF

INSTRUCTION

LOW PROFILE

1шт.

1

86618363

BUCKET

1676 mm (66 in.); Order From Machinery Price List; Incl. 3 - 8

1шт.

3

NSS

NOT SOLD SEPARAT

Decal

1шт.

4

86577166

CUTTING EDGE

Weld On Blade

1шт.

5

9829784

CUTTING EDGE

Cutter Left Hand

1шт.

6

9829783

CUTTING EDGE

Cutter Right Hand

1шт.

7

9822175

PLATE

2шт.

8

9829786

BAR

Skid

3шт.

1

86618364

BUCKET

1820 mm (72 in.); Order From Machinery Price List; Incl. 3 - 8

1шт.

3

NSS

NOT SOLD SEPARAT

Decal

1шт.

4

86577168

CUTTING EDGE,Weld On, 7 Hole, 152.4mm W x 1825.8mm L

Weld On Blade

1шт.

5

9829784

CUTTING EDGE

Cutter Left Hand

1шт.

6

9829783

CUTTING EDGE

Cutter Right Hand

1шт.

7

9822175

PLATE

2шт.

8

9829786

BAR

Skid

4шт.

REF

INSTRUCTION

EXTENDED LOW PROFILE

1шт.

2

86618353

BUCKET

1524 mm (60 in.); Order From Machinery Price List; Incl. 3 - 8

1шт.

3

NSS

NOT SOLD SEPARAT

Decal

1шт.

4

86577164

CUTTING EDGE

Weld On Blade

1шт.

5

86510316

CUTTING EDGE

Cutter Left Hand

1шт.

6

86510315

CUTTING EDGE

Cutter Right Hand

1шт.

7

9822175

PLATE

2шт.

8

86510313

BAR

Skid

3шт.

2

86618354

BUCKET

1676 mm (66 in.); Order From Machinery Price List; Incl. 3 - 8

1шт.

3

NSS

NOT SOLD SEPARAT

Decal

1шт.

4

86577166

CUTTING EDGE

Weld On Blade

1шт.

5

9829784

CUTTING EDGE

Cutter Left Hand

1шт.

6

9829783

CUTTING EDGE

Cutter Right Hand

1шт.

7

9822175

PLATE

2шт.

8

9829786

BAR

Skid

3шт.

2

86618355

BUCKET

1829 mm (72 in.); Order From Machinery Price List; Incl. 3 - 8

1шт.

3

NSS

NOT SOLD SEPARAT

Decal

1шт.

4

86577168

CUTTING EDGE,Weld On, 7 Hole, 152.4mm W x 1825.8mm L

Weld On Blade

1шт.

5

86510316

CUTTING EDGE

Cutter Left Hand

1шт.

6

86510315

CUTTING EDGE

Cutter Right Hand

1шт.

7

9822175

PLATE

2шт.

8

86510314

BAR

Skid

3шт.

2

86633059

BUCKET

1981 mm (78 in.); Order From Machinery Price List; Incl. 3 - 8

1шт.

3

NSS

NOT SOLD SEPARAT

Decal

1шт.

4

86577166

CUTTING EDGE

Weld On Blade

1шт.

5

9829784

CUTTING EDGE

Cutter Left Hand

1шт.

6

9829783

CUTTING EDGE

Cutter Right Hand

1шт.

7

9822175

PLATE

2шт.

8

9829786

BAR

Skid

3шт.

2

86618356

BUCKET

2134 mm (84 in); Order From Machinery Price List

1шт.

Выбрано товаров: 45