Запчасти Case IH 60XT (09-11) - PLATES, FLOOR (09) - CHASSIS

Схема запчастей Case IH 60XT - (09-11) - PLATES, FLOOR (09) - CHASSIS
6
6
6
6
7
7
2
1
5
5
4
3
FIT
1:1
100%

Артикул

Название

Примечание

Количество

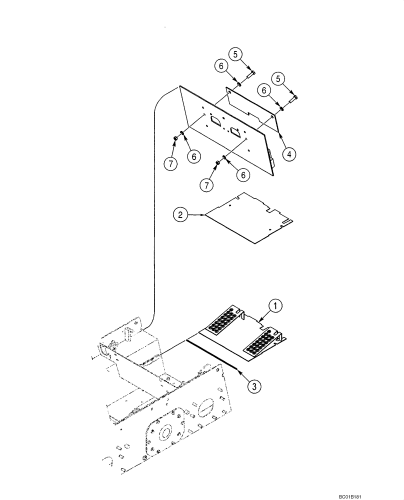
1

387013A1

PLATE ASSY.

North America Only

1шт.

2

433482A1

PLATE ASSY.

Europe Only

1шт.

3

381738A3

SEAL

Floor plate, Models With Floor Heater, See Figure 09-35

1шт.

REF

INSTRUCTION

EUROPEAN MODELS, NORTH AMERICAN MODELS WITH HEATER

1шт.

4

395037A1

PLATE

1шт.

5

614-10035

BOLT,Hex, M10 x 1.5 x 35mm, Cl 8.8, Full Thd

2шт.

7

832-41310

NUT,M10 x 1.5, Cl 10

2шт.

6

895-11010

WASHER,11mm ID x 20mm OD x 2mm Thk

4шт.

Выбрано товаров: 8