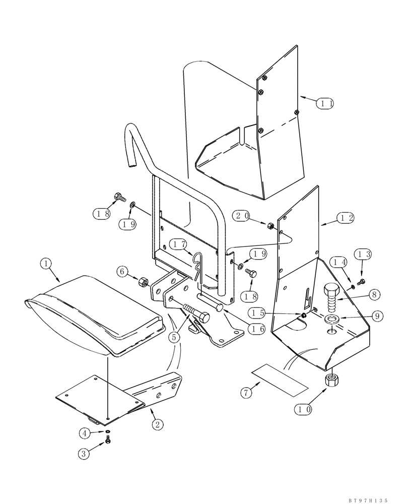
Запчасти Case IH 60XT (09-52) - BACKHOE - SEAT AND FOOT SHIELDS (D125) (09) - CHASSIS

Схема запчастей Case IH 60XT - (09-52) - BACKHOE - SEAT AND FOOT SHIELDS (D125) (09) - CHASSIS
13
19
9
17
16
2
3
4
18
18
15
7
19
12
1
8
14
10
20
6
bt97h135
5
11
FIT
1:1
100%

Артикул

Название

Примечание

Количество

REF

INSTRUCTION

D125 BACKHOE

1шт.

1

440454A1

SEAT

Component Parts Not Seviced Separately; Replaces 179332A1

1шт.

2

H673473

LARGE PLATE

PLATE, LARGE

1шт.

3

413-512

BOLT,Hex, 5/16" - 18 x 3/4", Gr 5

4шт.

4

492-11031

LOCK WASHER,5/16"

4шт.

5

413-1260

BOLT,Hex, 3/4" - 10 x 3-3/4", Gr 5

1шт.

6

230-42112

LOCK NUT,3/4"-10, GA

1шт.

7

H386334

FLOOR MAT

2шт.

8

413-1648

BOLT,Hex, 1" - 8 x 3", Gr 5

4шт.

9

D36505

WASHER,26.99mm ID x 47.63mm OD x 2.38mm Thk

Replaces H426833

4шт.

10

230-42116

LOCK NUT,1"-8, GA

4шт.

11

H674622

LARGE PLATE

PLATE, LARGE LH

1шт.

12

H674623

LARGE PLATE

PLATE, LARGE RH

1шт.

13

413-512

BOLT,Hex, 5/16" - 18 x 3/4", Gr 5

2шт.

14

496-11034

WASHER,11/32" x 11/16" x 1/16", HDN

2шт.

15

232-4115

LOCK NUT,5/16"-18, GC

2шт.

16

S10839

CLEVIS PIN,19.05mm OD x 95.25mm L

4 x 3-1/2

1шт.

17

136-164

COTTER PIN,Int, 5/16" x .120"

5/16 x 2-3/4

1шт.

18

413-616

BOLT,Hex, 3/8" - 16 x 1", Gr 5

4шт.

19

496-21041

WASHER,13/32" x 13/16" x .089", HDN

4шт.

20

232-4116

NUT,3/8"-16, GC

2шт.

Выбрано товаров: 21