Качественные детали и логистика
Оригинальные и аналоговые запчасти с доставкой по России, Казахстану и Беларуси
©2022 PartSell ООО "Система" ИНН 2463123282 ОГРН 1212400004838
Центральный офис: г. Красноярск, Академика Киренского, д.87, пом.4
Телефон: 8 (800) 777-65-74 Email: zakaz@partsell.ru
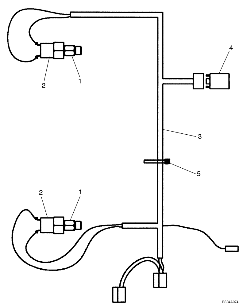
(04-35) - SPECIAL PARTS FOR ITALY - BRAKE LIGHT HARNESS
№
Артикул
Название
Примечание
Количество
1
D137424
FITTING
1/8 NPTF x -6
2шт.
2
427698A1
SWITCH
Brake Light
3
373546A1
HARNESS
1шт.
4
388457A1
RELAY
Time Delayed
5
L18331
CABLE TIE,375.9mm L, Nylon, Black
CABLE STRAP
3шт.
Выбрано товаров: 0