Запчасти Case IH 70XT (06-17) - PUMP, TANDEM (REAR) (06) - POWER TRAIN

Схема запчастей Case IH 70XT - (06-17) - PUMP, TANDEM (REAR) (06) - POWER TRAIN
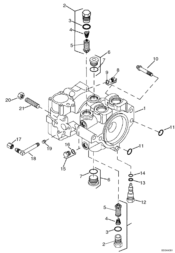
19
9
5
6
8
4
14
11
16
4
15
18
5
3
2
1
2
11
20
13
17
21
7
6
12
3
7
10
FIT
1:1
100%

Артикул

Название

Примечание

Количество

452013A1

PUMP,46 CC

Tandem; Incl. 1 - 26, Also Incl. Parts On Figure 06-14 - 06-19

1шт.

87298034

REMAN-HYD PUMP

Remanufactured PUMP

1шт.

87298035

CORE-HYDRAULIC PUMP

Return Number, PUMP

1шт.

1

402365A1

HOUSING

1шт.

H436101

VALVE POPPET

Relief, Incl. 2 - 5

2шт.

2

NSS

NOT SOLD SEPARAT

Valve Relief

1шт.

3

237-6012

O-RING,0.116" Thk x 0.924" ID, -912, Cl 6, 90 Duro

1шт.

4

86993468

SPRING

1шт.

5

NSS

NOT SOLD SEPARAT

Plug

1шт.

6

9841223

PLUG,1-1/16" - 12 ORB

Incl. 7

2шт.

7

237-6012

O-RING,0.116" Thk x 0.924" ID, -912, Cl 6, 90 Duro

1шт.

8

9672438

PLUG,7/16" - 20 ORB

Incl. 9

1шт.

9

237-6004

O-RING,0.072" Thk x 0.351" ID, -904, Cl 6, 90 Duro

1шт.

10

26044R1

12 PT SCREW,Flg, 1/2" - 13 x 2"

1шт.

11

238-6116

O-RING,0.103" Thk x 0.737" ID, -116, Cl 6, 90 Duro

2шт.

12

H436008

BY-PASS VALVE

1-1/16; Incl. 13

1шт.

13

S99877

BACK-UP RING,Split, 9.91mm ID x 12.65mm OD x 1.32mm Thk

1шт.

14

86993475

O-RING

1шт.

15

76349

PLUG,9/16" - 18 ORB

Incl. 16

1шт.

16

237-6006

O-RING,0.078" Thk x 0.468" ID, -906, Cl 6, 90 Duro

1шт.

17

86993467

CAP

1шт.

18

86993480

ELBOW

1шт.

19

86993479

PIPE PLUG,1/16" - 27

1шт.

20

425-108

NUT,1/2" - 13, Gr 5

1шт.

21

K608432

STUD,1/2" - 13 x 4-1/2"

1шт.

140008A1

GASKET KIT

Repair, Seal; Incl. 06-14 Ref 5, 6, 7, 8, 20, 21, 23, 24, 32; 06-15 Ref 2, 3, 5, 10, 17, 20, 32; 06-16 Ref 3, 29, 35; 06-17 Ref 3, 11, 13, 14; 06-18 Ref 5, 6, 7, 8, 18, 21, 30, 31, 33; 06-19 Ref 11

1шт.

Выбрано товаров: 26