Запчасти Case IH 75XT (09-45) - DOOR, FRONT - LATCH (09) - CHASSIS

Схема запчастей Case IH 75XT - (09-45) - DOOR, FRONT - LATCH (09) - CHASSIS
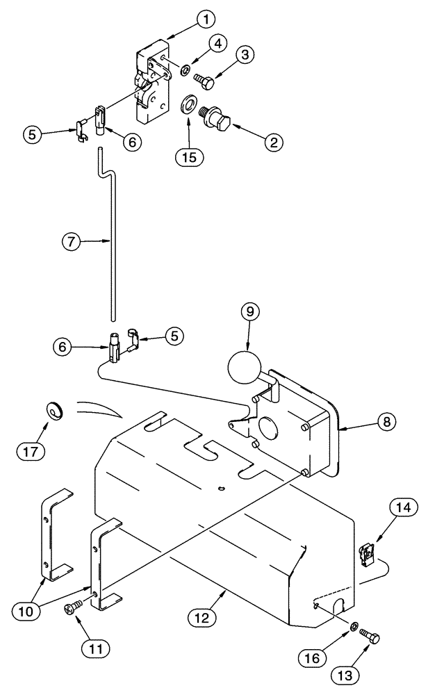
1
13
12
16
6
7
8
15
9
5
3
14
4
2
17
11
6
10
5
FIT
1:1
100%

Артикул

Название

Примечание

Количество

North American Models -JAF0318921

1шт.

European Models -JAF0352168

1шт.

1

233541A1

LATCH ASSY.

1шт.

2

233564A1

BOLT

1шт.

3

614-6020

BOLT,Hex, M6 x 1 x 20mm, Cl 8.8, Full Thd

4шт.

4

895-11006

WASHER,6.6mm ID x 12mm OD x 1.6mm Thk

4шт.

5

254885A1

CLIP,ELECTRICAL

2шт.

6

254886A1

END FITTING

2шт.

7

255649A1

ROD

1шт.

8

233540A1

HANDLE

Includes 9

1шт.

9

C10487

BALL KNOB

1шт.

10

233542A3

SUPPORT ASSY.

Replaces 233542A2

2шт.

11

840-1516

SCREW,Pan, M5 x 16mm, Cl 4.8

4шт.

12

255331A3

COVER

Replaces 255331A2

1шт.

13

614-6016

BOLT,Hex, M6 x 1 x 16mm, Cl 8.8, Full Thd

3шт.

14

833-40306

SPRING NUT,M6, U

3шт.

15

895-15012

WASHER,M12 x 28 x 2.5

13,5 x 28 x 2,5 mm

2шт.

16

895-11006

WASHER,6.6mm ID x 12mm OD x 1.6mm Thk

3шт.

17

248-1210

GROMMET,1/4" ID x 1" x .062", Diag Cut

3/4

1шт.

Выбрано товаров: 0