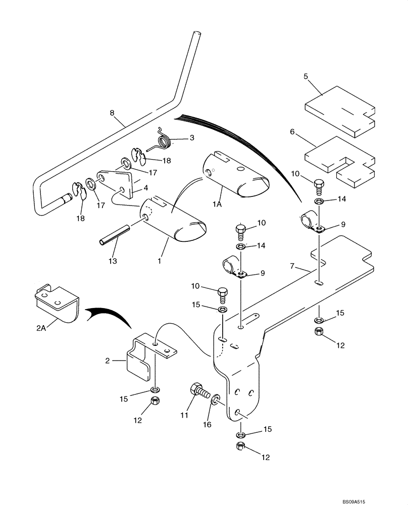
Запчасти Case IH 85XT (09-02) - SUPPORT - LOADER FRAME (09) - CHASSIS

Схема запчастей Case IH 85XT - (09-02) - SUPPORT - LOADER FRAME (09) - CHASSIS
12
4
1
17
8
17
15
5
10
18
2
12
14
13
18
11
1a
3
16
2a
9
10
9
14
6
7
15
15
15
10
12
FIT
1:1
100%

Артикул

Название

Примечание

Количество

1

259564A4

PIN

1шт.

2

294516A1

RETAINER

If Used

1шт.

2a

87051759

STOP

1шт.

3

279790A1

SPRING

1шт.

4

279791A1

SUPPORT

1шт.

5

280002A1

SHOCK ABSORBER

If Used

1шт.

6

280003A1

SHOCK ABSORBER

If Used

1шт.

7

279904A1

SUPPORT

1шт.

8

279786A1

STEM

1шт.

9

291784A1

CLAMP

2шт.

10

43127

BOLT,Hex, M8 x 1.25 x 25mm, Cl 8.8

Replaces 614-8025

4шт.

11

43138

BOLT,Hex, M10 x 1.5 x 20mm, Cl 8.8

Replaces 614-10020

3шт.

12

87547166

NUT

Replaces 832-41308

4шт.

13

381531

ROLL PIN,10mm OD x 40mm L, Slotted

Replaces 838-51040

1шт.

14

86624184

WASHER,9mm ID x 16mm OD x 1.6mm Thk

Replaces 895-11008

2шт.

15

86625263

WASHER,9mm ID x 20mm OD x 1.6mm Thk

Replaces 895-15008

6шт.

16

86625253

WASHER,11mm ID x 24mm OD x 2mm Thk

Replaces 895-15010

3шт.

17

86625255

WASHER,13.3mm ID x 24.5mm OD x 3mm Thk

Replaces 896-11012

2шт.

18

D143415

SNAP RING,0.50” ID, Klipring

1/2

2шт.

Выбрано товаров: 19