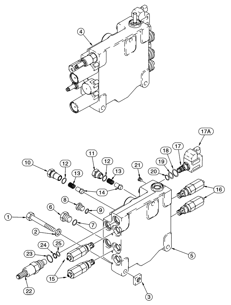
Запчасти Case IH 90XT (08-15) - VALVE, CONTROL MOUNTING, NORTH AMERICAN MODELS -JAF0320049, EUROPEAN MODELS -JAF0274261 (08) - HYDRAULICS

Схема запчастей Case IH 90XT - (08-15) - VALVE, CONTROL MOUNTING, NORTH AMERICAN MODELS -JAF0320049, EUROPEAN MODELS -JAF0274261 (08) - HYDRAULICS
17a
3
19
25
6
11
17
4
20
22
12
14
13
21
5
24
23
18
8
7
1
15
12
13
16
2
9
10
FIT
1:1
100%

Артикул

Название

Примечание

Количество

1

814-10055

BOLT,Hex, M10 x 1.5 x 55mm, Cl 8.8

3шт.

3

309096A1

SQUARE NUT,Square, M10 x 1.5, LH Thd, Cl 5A

M10

3шт.

4

228188A4

DISTRIBUTOR

3 spool, Replaced By: 300950A4, If Equipped, Part Number Stamped On Part, Consists Of: 4 - 25, Also Includes: 8-83 - 8-89

1шт.

5

NSS

NOT SOLD SEPARAT

BODY

1шт.

6

86625138

PLUG,7/18" - 14

Includes Ref. 7

1шт.

7

237-6010

O-RING,0.097" Thk x 0.755" ID, -910, Cl 6, 90 Duro

1шт.

Part of P/N 218-5211

1шт.

8

9625178

PLUG,9/16" - 18 ORB

Incl. Ref. 9

1шт.

293788A1

PLUG

Consists Of: 10, 12

1шт.

10

NSS

NOT SOLD SEPARAT

PLUG, Replaces: 227212A1

1шт.

Part of P/N 293788A1

1шт.

293787A1

PLUG,ORB

Consists Of 11, 12

3шт.

11

NSS

NOT SOLD SEPARAT

PLUG, Replaces: G109644

1шт.

Part of P/N 293787A1

1шт.

12

237-6008

O-RING,0.087" Thk x 0.644" ID, -908, Cl 6, 90 Duro

1шт.

Part of P/N's 293787A1, 293788A1

1шт.

13

G34458

SPRING,Compression, 5.08mm OD x 27.56mm L

4шт.

14

283417A1

VALVE POPPET,7.14mm ID x 11.68mm OD x 25.4mm L

4шт.

15

234828A1

VALVE

3100 psi, Circuit Relief, See Figure 8-21

2шт.

16

186709A1

VALVE

3800 psi, Circuit Relief, See Figure 8-21

2шт.

349295A1

SOLENOID VALVE

Includes Screen, Ref. 20A, Consists Of: 17 - 20A, Replaces: 184505A1; Valve Without Screen

1шт.

17

NSS

NOT SOLD SEPARAT

VALVE Solenoid

1шт.

17a

NSS

NOT SOLD SEPARAT

COIL

1шт.

18

237-6008

O-RING,0.087" Thk x 0.644" ID, -908, Cl 6, 90 Duro

1шт.

19

238-5014

O-RING,0.07" Thk x 0.489" ID, -14, Cl 5, 75 Duro

1шт.

20

238-5013

O-RING,0.07" Thk x 0.426" ID, -13, Cl 5, 75 Duro

1шт.

20a

NSS

NOT SOLD SEPARAT

SCREEN, Not Shown

1шт.

21

NSS

NOT SOLD SEPARAT

PLUG Expansion

1шт.

129842A2

VALVE, PRESSURE RELI

EF Main Relief, Consists Of: 22 - 25

1шт.

22

NSS

NOT SOLD SEPARAT

BODY

1шт.

G110098

KIT

Consists Of: 23 - 25

1шт.

23

237-6010

O-RING,0.097" Thk x 0.755" ID, -910, Cl 6, 90 Duro

1шт.

24

G107870

BACK-UP RING,Square, 1.32mm Thk x 12.73mm ID

1шт.

25

238-8014

O-RING,0.07" Thk x 0.489" ID, -14, Cl 8, 90 Duro

1шт.

249533A1

SEAL KIT

Consists Of Ref 7, 12 (8-73), 18 - 20 (8-75); Ref 1, 7, 9 (8-83), 18, 21 (8-85); Ref 37, 38, 39 (8-89); Ref 2 - 4, 8 - 10 (8-97)

1шт.

2

895-11010

WASHER,11mm ID x 20mm OD x 2mm Thk

3шт.

9

237-6006

O-RING,0.078" Thk x 0.468" ID, -906, Cl 6, 90 Duro

1шт.

Part of P/N 218-5209

1шт.

Выбрано товаров: 38