Запчасти Case IH 90XT (09-21) - LINKAGE HIGH FLOW, PISTON, NORTH AMERICAN MODELS -JAF0320049, EUROPEAN MODELS -JAF0274261 (09) - CHASSIS

Схема запчастей Case IH 90XT - (09-21) - LINKAGE HIGH FLOW, PISTON, NORTH AMERICAN MODELS -JAF0320049, EUROPEAN MODELS -JAF0274261 (09) - CHASSIS
18
29
22
16
14
23
5
1
12
9
26
3
20
15
6
32
31
4
24
17
2
34
33
25
30
23
7
8
35
27
19
24
21
13
11
8
10
FIT
1:1
100%

Артикул

Название

Примечание

Количество

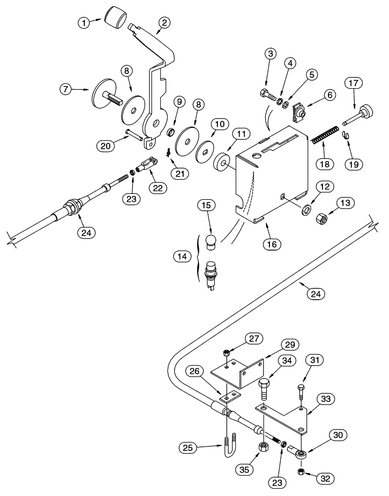
1

A177437

KNOB

1шт.

2

280006A1

LEVER

1шт.

3

614-8025

BOLT,Hex, M8 x 1.25 x 25mm, Cl 8.8, Full Thd

3шт.

4

892-11008

LOCK WASHER,8mm ID

3шт.

6

833-40008

SPRING NUT,M8, U

M8

3шт.

7

277787A1

SCREW

1шт.

8

1342374C1

DISC

2шт.

9

T101396

RING

1шт.

10

257971A1

WASHER,13.1mm ID x 48mm OD x 3.05mm Thk

1шт.

11

257973A1

SEALING WASHER,12.5mm ID x 36mm OD x 10mm Thk

1шт.

12

896-11012

WASHER,13.5mm ID x 24mm OD x 3mm Thk

1шт.

13

832-41312

NUT,M12 x 1.75, Cl 10

1шт.

14

175462A1

LIGHT

Green, Includes: Ref. 15

1шт.

15

200557H1

BULB,C2V, #1815, 14V

No. 1815

1шт.

Part of P/N 175462A1

1шт.

16

280008A1

CASE

1шт.

17

235372A1

CONTROL LEVER

1шт.

18

238112A1

SPRING

1шт.

19

D95091

RING

1/4

1шт.

20

427-4077

CLEVIS PIN,1/4" x .770"

1шт.

21

D131983

COTTER PIN,1.04mm OD x 21.4mm L, Ring

1шт.

22

213-124

ADJUSTABLE CLEVIS,1/4"-28

1шт.

23

425-114

NUT,1/4"-28, G5

2шт.

24

248809A1

CABLE ASSY.

1шт.

25

194281A1

U-BOLT

BOLT "U" M6

1шт.

26

H373779

LARGE PLATE

PLATE, LARGE

1шт.

27

832-41306

NUT,M6 x 1, Cl 10

2шт.

29

235374A1

SUPPORT

Note : Use Pump Hardware For Mounting.

1шт.

30

A146456

BALL

1/4 NF

1шт.

31

614-6020

BOLT,Hex, M6 x 1 x 20mm, Cl 8.8, Full Thd

1шт.

32

832-41306

NUT,M6 x 1, Cl 10

1шт.

33

235375A1

SUPPORT

1шт.

34

614-10020

BOLT,Hex, M10 x 1.5 x 20mm, Cl 8.8, Full Thd

2шт.

35

832-41310

NUT,M10 x 1.5, Cl 10

2шт.

5

895-11008

WASHER,9mm ID x 16mm OD x 1.6mm Thk

3шт.

Выбрано товаров: 0