Запчасти Case IH 90XT (09-71) - TRENCHER GUARD, CHAIN NORTH AMERICA (09) - CHASSIS

Схема запчастей Case IH 90XT - (09-71) - TRENCHER GUARD, CHAIN NORTH AMERICA (09) - CHASSIS
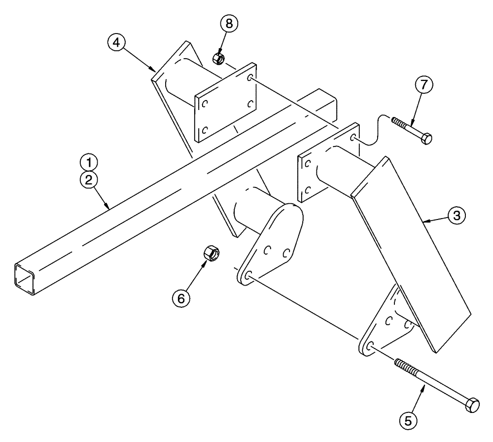
3
6
4
5
7
2
1
8
FIT
1:1
100%

Артикул

Название

Примечание

Количество

120625A1

KIT

Restraint, Includes: Ref 1, and Decals, Ref 12, 13 (9-199)

1шт.

1

NSS

NOT SOLD SEPARAT

BAR, 4ft, If Equipped

1шт.

2

H672675

GUARD

5 ft, If Equipped

1шт.

3

117777A1

ANCHOR

Left Hand

1шт.

4

117778A1

ANCHOR

Right Hand

1шт.

5

426-12112

BOLT,Hex, 3/4" - 10 x 7", Gr 8

3/4 x 7; 8

3шт.

6

232-41112

NUT,3/4"-10, GC

3шт.

7

413-864

BOLT,Hex, 1/2" - 13 x 4", Gr 5

1/2 x 4

4шт.

8

232-4118

NUT,1/2"-13, GC

4шт.

Note : Order Chain Through Ship Direct Program.

1шт.

Выбрано товаров: 10