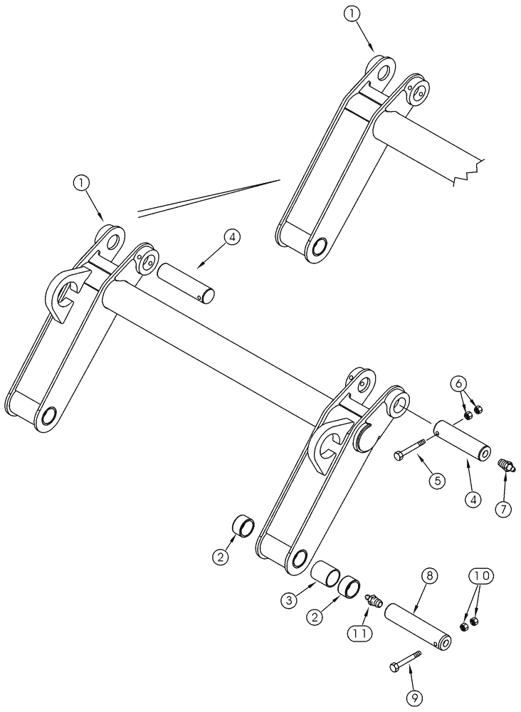
Запчасти Case IH 95XT (09-03) - ARM, LOADER H-FRAME (09) - CHASSIS/ATTACHMENTS

Схема запчастей Case IH 95XT - (09-03) - ARM, LOADER H-FRAME (09) - CHASSIS/ATTACHMENTS
2
8
7
9
5
10
4
1
6
3
11
4
2
1
FIT
1:1
100%

Артикул

Название

Примечание

Количество

1

139246A1

ARM ASSY.

Includes 2, 3, May or May Not Have Lug Welded to Arm Assembly

1шт.

2

141008A1

BUSHING,45.19mm ID x 55mm OD x 30mm L

4шт.

3

231646A1

SPACER

2шт.

4

139086A1

PIN,45mm OD x 176mm L

2шт.

5

814-10100

BOLT,Hex, M10 x 1.5 x 100mm, Cl 8.8

2шт.

7

219-1

LUBE NIPPLE,1/8" - 27 NPTF

2шт.

8

139087A1

PIN,45mm OD x 212mm L

2шт.

9

814-10100

BOLT,Hex, M10 x 1.5 x 100mm, Cl 8.8

2шт.

11

219-1

LUBE NIPPLE,1/8" - 27 NPTF

2шт.

6

829-1410

NUT,M10 x 1.5, Cl 10.9

4шт.

10

829-1410

NUT,M10 x 1.5, Cl 10.9

4шт.

Выбрано товаров: 11