Запчасти Case IH 95XT (08-07) - VALVE, CONTROL - MOUNTING (08) - HYDRAULICS

Схема запчастей Case IH 95XT - (08-07) - VALVE, CONTROL - MOUNTING (08) - HYDRAULICS
5
9
7
4
4
6
4
3
3
4
5
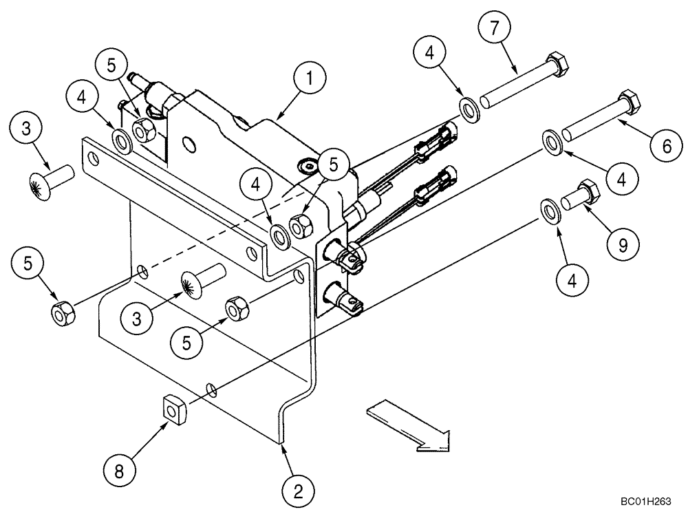
1
5
4
5
8
2
FIT
1:1
100%

Артикул

Название

Примечание

Количество

REF

INSTRUCTION

LOADER

1шт.

1

409062A2

VALVE

Control; Loader; Two Spool; See Figure 08-08, 08-09; If Used

1шт.

1

87431787

VALVE

Control; See Figure 08-08, 08-09; If Used; Replaces 409062A2

1шт.

2

419095A1

LARGE PLATE

PLATE, LARGE Valve Mounting

1шт.

3

811-10025

CARRIAGE BOLT,Sht Sq Nk, M10 x 1.5 x 25mm, Cl 8.8

2шт.

4

895-11010

WASHER,11mm ID x 20mm OD x 2mm Thk

5шт.

5

832-41410

NUT,M10 x 1.5, Cl 10

4шт.

6

814-10060

BOLT,Hex, M10 x 1.5 x 60mm, Cl 8.8

1шт.

7

814-10070

BOLT,Hex, M10 x 1.5 x 70mm, Cl 8.8

1шт.

8

309096A1

SQUARE NUT,Square, M10 x 1.5, LH Thd, Cl 5A

M10

1шт.

9

614-10020

BOLT,Hex, M10 x 1.5 x 20mm, Cl 8.8, Full Thd

1шт.

Выбрано товаров: 11