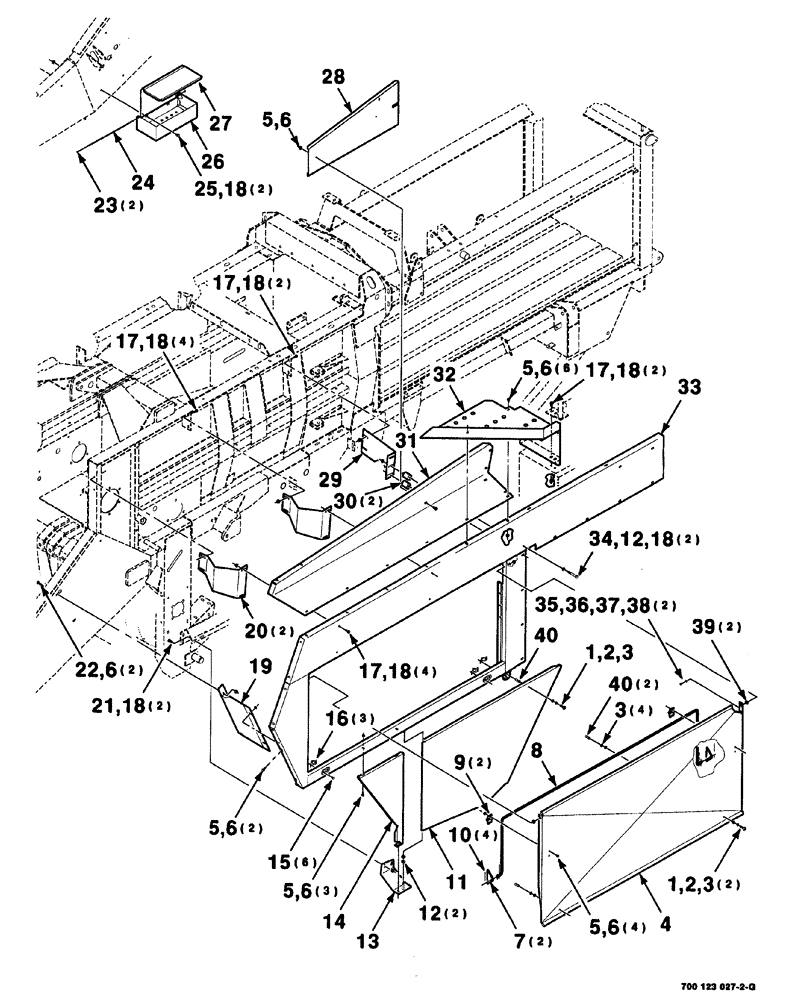
Запчасти Case IH 8576 (07-008) - MAIN SHIELDS ASSEMBLY-LEFT (12) - MAIN FRAME

Схема запчастей Case IH 8576 - (07-008) - MAIN SHIELDS ASSEMBLY-LEFT (12) - MAIN FRAME
28
11
12
6
6
6
3
4
6
17
10
39
23
37
18
18
19
18
27
7
35
9
5
17
3
2
6
22
40
15
2
32
18
20
38
5
21
26
13
8
18
3
5
1
6
24
14
18
17
33
12
25
5
34
18
5
16
29
30
17
1
40
36
31
FIT
1:1
100%

Артикул

Название

Примечание

Количество

1

490-1108

SCREW,Cross Pan Hd, #10-32 x 1/2"

GR2

3шт.

2

492-11010

LOCK WASHER,#10

3шт.

3

495-31022

WASHER,#10

7шт.

4

700123958

SUPPORT

PANEL WA DOOR

1шт.

5

121-115

SERRATED BOLT,Hex, 5/16" - 18 x 3/4"

16шт.

6

231-5145

SERRATED NUT,Flg, USR, 5/16"-18

18шт.

7

700113992

GUIDE

2шт.

8

700123960

ROD

1шт.

9

700123961

MOUNTING PARTS

SUPPORT

2шт.

10

432-812

COTTER PIN,3/4" OAL x 1/8" W

4шт.

11

700123952

SHIELD

lower, left

1шт.

12

496-11041

WASHER,13/32" x 13/16" x .065", HDN

hardened plain, 3/8

4шт.

13

700123205

SUPPORT

WA left

1шт.

14

700123947

SHIELD

lower, left

1шт.

15

19-1027

SELF-TAP SCREW,Cross Truss Hd, #8 x 1/2"

#8-18 x 1/2 CRTHTFTS

6шт.

16

1960763C3

LATCH

RECEIVER stud

3шт.

17

121-226

SERRATED BOLT,Hex, 3/8" - 16 x 1"

12шт.

18

231-5146

FLANGE NUT,3/8"-16

18шт.

19

700123949

PANEL

SHIELD

1шт.

20

700123951

ANGLE

2шт.

21

434-616

CARRIAGE BOLT,Sht Sq Nk, 3/8" - 16 x 1", Gr 5

3/8-16 x 1 RHSNB

2шт.

22

111-237

CARRIAGE BOLT,Short NK, 5/16"-18 x 1", G5

2шт.

23

700707858

SNAP RING

RING

2шт.

24

700108570

ROD

HINGE

1шт.

25

409-7612

BOLT,3/8"-16 x 1.09" OAL

2шт.

26

700108566

TOOL BOX

WA, tool

1шт.

27

700108569

LID

BOX, tool

1шт.

28

700129799

SHIELD

1шт.

29

700123962

SUPPORT

1шт.

30

700123965

SPACER

2шт.

31

700152218

SHIELD

left, top

1шт.

32

700129793

PANEL

STEP

1шт.

33

700123931

SHIELD

WA left

1шт.

34

413-640

BOLT,Hex, 3/8" - 16 x 2-1/2", Gr 5

2шт.

35

413-512

BOLT,Hex, 5/16" - 18 x 3/4", Gr 5

2шт.

36

496-21034

WASHER,11/32" x 11/16" x 0.89", HDN

2шт.

37

492-11031

LOCK WASHER,5/16"

2шт.

38

425-105

NUT,5/16"-18, G5

2шт.

39

6514772

SPACER

2шт.

40

1960762C1

STUD

latch

3шт.

Выбрано товаров: 40