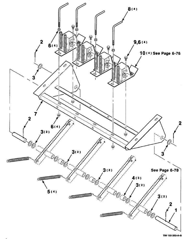
Запчасти Case IH 8576 (06-072) - TENSIONER ASSEMBLY, S.N. CFH0113001 THRU CFH0117742 (14) - BALE CHAMBER

Схема запчастей Case IH 8576 - (06-072) - TENSIONER ASSEMBLY, S.N. CFH0113001 THRU CFH0117742 (14) - BALE CHAMBER
3
2
3
4
3
5
3
8
6
3
10
2
2
6
3
7
9
6
3
1
3
FIT
1:1
100%

Артикул

Название

Примечание

Количество

1

700123260

ROD

1шт.

2

432-1024

COTTER PIN,5/32" x 1 1/2"

5/32" x 1 1/2"

4шт.

3

52258

BUSHING

1 x 14 gauge NRMB

12шт.

4

571823R1

SPACER,1 1/4" Tube x 1"

SPACER

3шт.

5

700714986

SPRING

extension

4шт.

6

231-5146

FLANGE NUT,3/8"-16

12шт.

7

700123254

SUPPORT

WA

1шт.

8

702400048

ROD

4шт.

9

409-7612

BOLT,3/8"-16 x 1.09" OAL

4шт.

10

6845077

TENSIONER

ASSEMBLY

4шт.

Выбрано товаров: 10