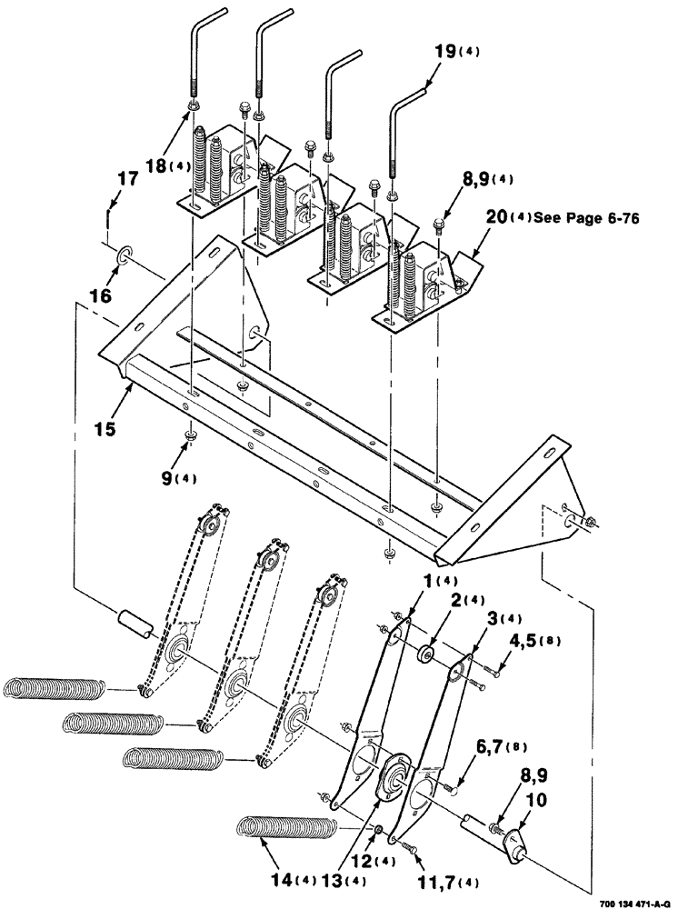
Запчасти Case IH 8576 (06-074) - TENSIONER ASSEMBLY, S.N. CFH0117743 AND LATER (14) - BALE CHAMBER

Схема запчастей Case IH 8576 - (06-074) - TENSIONER ASSEMBLY, S.N. CFH0117743 AND LATER (14) - BALE CHAMBER
17
5
7
6
18
16
8
2
13
3
15
7
1
9
8
19
12
20
14
9
11
9
10
4
FIT
1:1
100%

Артикул

Название

Примечание

Количество

1

700137467

ARM

tension, right

4шт.

2

700707700

BALL BEARING,6.48 mm ID x 31.75 mm OD x 13.08 mm

4шт.

3

700137466

ARM

tension, left

4шт.

5

1703354

NUT

1/4-20 HFTLN GR/G

8шт.

6

111-237

CARRIAGE BOLT,Short NK, 5/16"-18 x 1", G5

8шт.

7

232-5315

FLANGE NUT,Flg, 5/16"-18

5/16-18 HFTLN GR/G

12шт.

8

409-7612

BOLT,3/8"-16 x 1.09" OAL

5шт.

9

329-286

FLANGE NUT,Flg, 3/8"-16, G8

9шт.

10

700134472

ROD

WA

1шт.

11

413-516

BOLT,Hex, 5/16" - 18 x 1", Gr 5

4шт.

12

6514772

SPACER

4шт.

13

700715941

FLANGED BEARING

flange

4шт.

14

700714986

SPRING

extension

4шт.

15

700123254

SUPPORT

WA

1шт.

16

705574

WASHER,1 1/8" x 2" x .156", HDN

1шт.

17

432-1024

COTTER PIN,5/32" x 1 1/2"

5/32" x 1 1/2"

1шт.

18

231-5146

FLANGE NUT,3/8"-16

4шт.

19

702400048

ROD

4шт.

20

6845077

TENSIONER

ASM

4шт.

4

413-420

BOLT,Hex, 1/4" - 20 x 1-1/4", Gr 5

8шт.

Выбрано товаров: 20