Качественные детали и логистика
Оригинальные и аналоговые запчасти с доставкой по России, Казахстану и Беларуси
©2022 PartSell ООО "Система" ИНН 2463123282 ОГРН 1212400004838
Центральный офис: г. Красноярск, Академика Киренского, д.87, пом.4
Телефон: 8 (800) 777-65-74 Email: zakaz@partsell.ru
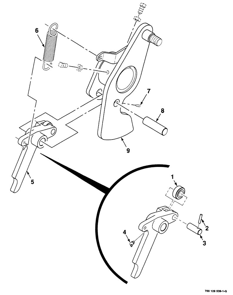
(05-004) - CLUTCH DOG ASSEMBLY, S.N. CFH0113001 THRU CFH0163714
№
Артикул
Название
Примечание
Количество
1
6524623
ROLLER,41.28mm OD x 18.67mm L
1шт.
2
135-358
GROOVED PIN,1/4" x 1 1/4", Type F
3
6524649
PIN
CLUTCH
4
219-90
LUBE NIPPLE,45 Degree Elbow, 1/4" -28 NPTF
1/4-28 x 45 Deg. ZERK
5
700134412
ARM
CLUTCH, Includes: Ref. 1, 2, 3 and 4
6
758268
SPRING
extension
7
69526
LEVER
3/8-16 x 3/4 HDPHSSS NP,Set screw
8
700129542
SHAFT
9
700129539
ARM WA clutch
Выбрано товаров: 0