Запчасти Case IH 8576 (05-006) - CLUTCH DOG ASSEMBLY, S.N. CFH0163715 AND LATER (16) - BALE EJECTOR

Схема запчастей Case IH 8576 - (05-006) - CLUTCH DOG ASSEMBLY, S.N. CFH0163715 AND LATER (16) - BALE EJECTOR
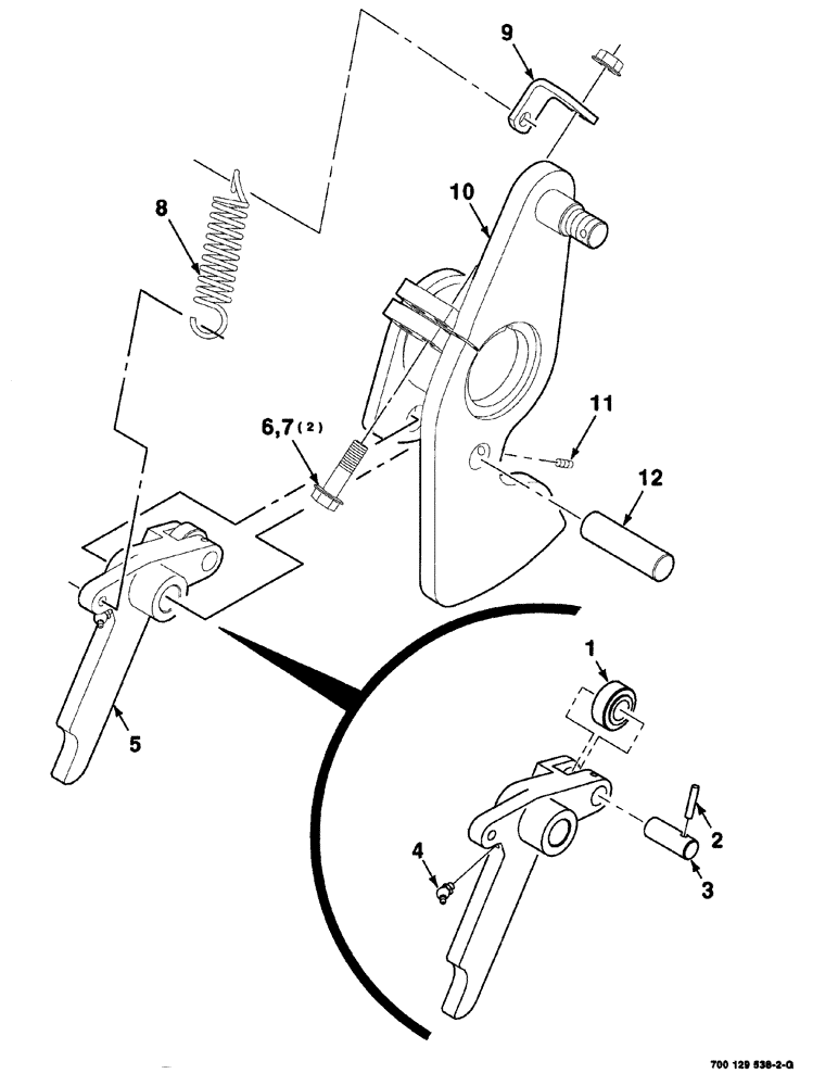
3
10
1
6
9
5
12
7
4
11
2
8
FIT
1:1
100%

Артикул

Название

Примечание

Количество

1

6524623

ROLLER,41.28mm OD x 18.67mm L

1шт.

2

135-358

GROOVED PIN,1/4" x 1 1/4", Type F

1шт.

3

6524649

PIN

clutch

1шт.

4

219-90

LUBE NIPPLE,45 Degree Elbow, 1/4" -28 NPTF

1/4-28 x 45 Deg. ZERK

1шт.

5

700134412

ARM

CLUTCH, Includes: Ref 1, 2, 3 and 4)

1шт.

6

700712882

BOLT,Hex Flg, 1/2" - 13 x 2 1/4", Gr 8

1/2-13 x 2-1/4 HFS GR8

2шт.

7

231-5148

FLANGE NUT,Flg, USR, 1/2"-13

2шт.

8

758268

SPRING

extention

1шт.

9

700138179

SUPPORT

spring

1шт.

10

700138196

ARM

ARM WA clutch

1шт.

11

069526

SCREW

3/8-16 x 3/4 HDPHSSS NP

1шт.

12

700129542

SHAFT

clutch

1шт.

Выбрано товаров: 12