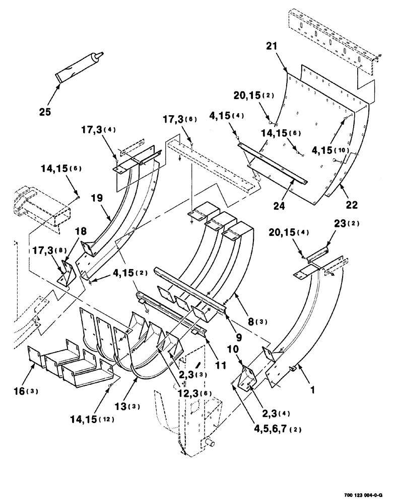
Запчасти Case IH 8576 (05-016) - FEEDER CHUTE ASSEMBLY (16) - BALE EJECTOR

Схема запчастей Case IH 8576 - (05-016) - FEEDER CHUTE ASSEMBLY (16) - BALE EJECTOR
22
15
3
23
2
21
15
15
20
1
10
17
8
4
15
3
19
15
24
15
4
14
6
9
3
4
5
20
17
3
14
14
15
11
18
7
15
3
13
4
16
2
12
3
25
17
FIT
1:1
100%

Артикул

Название

Примечание

Количество

1

700123401

PANEL

WA left

1шт.

2

409-7512

BOLT,Hex Flg, 5/16" - 18 x 3/4", Spcl

7шт.

3

231-5145

SERRATED NUT,Flg, USR, 5/16"-18

31шт.

4

433-620

CARRIAGE BOLT,Sq Nk, 3/8" - 16 x 1 1/4", Gr 5

18шт.

5

496-11041

WASHER,13/32" x 13/16" x .065", HDN

hardened plain, 3/8

2шт.

6

492-11038

LOCK WASHER,3/8"

2шт.

7

425-106

NUT,3/8"-16, Cl 5

2шт.

8

700123409

STRAP

PANEL

3шт.

9

700123412

ANGLE

WA

1шт.

10

700112825

ANGLE

WA left

1шт.

11

700123415

SUPPORT

WA

1шт.

12

409-7516

BOLT,Hex Flg, 5/16" - 18 x 1", Spcl

6шт.

13

700138462

SHIELD

WRAPPER WA

3шт.

14

433-612

CARRIAGE BOLT,Sq Nk, 3/8" - 16 x 3/4", Gr 5

24шт.

15

231-5146

FLANGE NUT,3/8"-16

46шт.

16

700123388

EXTENSION

WRAPPER

3шт.

17

433-512

CARRIAGE BOLT,Sq Nk, 5/16" - 18 x 3/4", Gr 5

18шт.

18

700112826

ANGLE

WA right

1шт.

19

700123402

PANEL

WA right

1шт.

20

434-616

CARRIAGE BOLT,Sht Sq Nk, 3/8" - 16 x 1", Gr 5

3/8-16 x 1 RHSNB

6шт.

21

700716890

PANEL

LINER, rear

1шт.

22

700134488

PANEL

rear

1шт.

23

700123417

ANGLE

2шт.

24

700123387

ANGLE

1шт.

25

700707823

SEALANT

305 ml/10.3 OZ

1шт.

Выбрано товаров: 25