Запчасти Case IH 8576 (09-018) - BALE ROLLER CHUTE KIT,HK40831 COMPLETE-INCLUDES PGS 9-18 THRU 9-21TO BE ORDERED THRU WHOLEGOODS ONLY Decals & Attachments

Схема запчастей Case IH 8576 - (09-018) - BALE ROLLER CHUTE KIT,HK40831 COMPLETE-INCLUDES PGS 9-18 THRU 9-21TO BE ORDERED THRU WHOLEGOODS ONLY Decals & Attachments
8
2
15
19
13
7
20
14
1
7
6
21
4
25
22
14
12
6
23
18
24
3
10
9
2
16
7
26
11
17
5
2
FIT
1:1
100%

Артикул

Название

Примечание

Количество

1

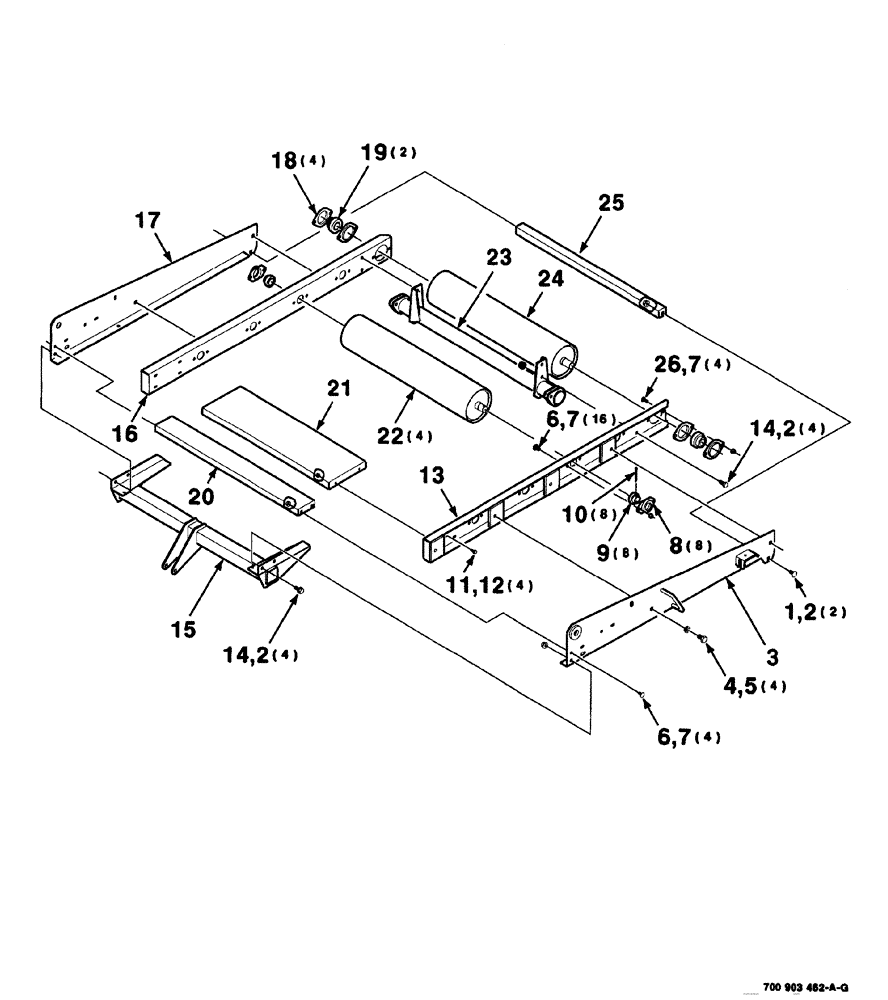
433-816

CARRIAGE BOLT,Sq Nk, 1/2" - 13 x 1", Gr 5

1/2-13 x 1 RHSNB

2шт.

2

231-5348

FLANGE NUT,Flg, 1/2"-13

1/2-13 HFTLN GR/G

10шт.

3

700129744

ANGLE

WA left

1шт.

4

413-1016

BOLT,Hex, 5/8" - 11 x 1", Gr 5

5/8-11 x 1 C

4шт.

5

492-11062

BEARING WASHER,5/8"

4шт.

6

433-612

CARRIAGE BOLT,Sq Nk, 3/8" - 16 x 3/4", Gr 5

20шт.

7

232-5316

FLANGE NUT,Flg, 3/8"-16

3/8-16 HFTLN GR/G

24шт.

8

700108622

FLANGED BEARING

8шт.

9

710392

BEARING, ROLLER, CYL,27.33 mm ID x 47.09 mm OD x 25.4 mm

cylindrical

8шт.

10

432-1632

COTTER PIN,1/4" x 2"

1/4" x 2"

8шт.

11

121-115

SERRATED BOLT,Hex, 5/16" - 18 x 3/4"

4шт.

12

232-5315

FLANGE NUT,Flg, 5/16"-18

5/16-18 HFTLN GR/G

4шт.

13

700129724

CHANNEL

WA left

1шт.

14

360-816

BOLT,Hex, 1/2" - 13 x 1", Gr 8

1/2-13 x 1 HFS GR8

8шт.

15

700129717

SUPPORT

WA

1шт.

16

700129756

CHANNEL

WA right

1шт.

17

700129745

ANGLE

WA right

1шт.

18

581469R1

FLANGE,Bearing

4шт.

19

700708095

SPHERICAL BEARING

spherical

2шт.

20

700129737

SHIELD

1шт.

21

700129736

SHIELD

1шт.

22

700129714

TUBE,816 mm Length

WA front

4шт.

23

700129728

SUPPORT

WA

1шт.

24

700129710

TUBE,816 mm Length

WA rear

1шт.

25

700129739

CHANNEL

rear

1шт.

26

434-616

CARRIAGE BOLT,Sht Sq Nk, 3/8" - 16 x 1", Gr 5

3/8-16 x 1 RHSNB

4шт.

Выбрано товаров: 26