Качественные детали и логистика
Оригинальные и аналоговые запчасти с доставкой по России, Казахстану и Беларуси
©2022 PartSell ООО "Система" ИНН 2463123282 ОГРН 1212400004838
Центральный офис: г. Красноярск, Академика Киренского, д.87, пом.4
Телефон: 8 (800) 777-65-74 Email: zakaz@partsell.ru
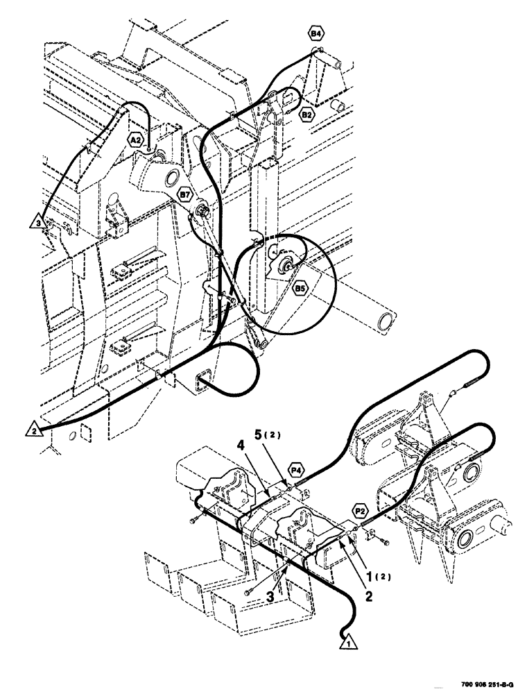
(09-050) - AUTO LUBE KIT-CONTINUED
№
Артикул
Название
Примечание
Количество
1
221-326
COUPLING,Pipe, 1/8" NPT
PIPE
2шт.
2
700718187
HOSE
left packer
1шт.
3
515-23159
CLAMP,5/8", Insul, 3/8" Bolt
4
700718188
right packer
5
86513589
HYD CONNECTOR,7/16" - 20 JIC x 1/8" - 27 NPT
male, JIC-NPTF
Выбрано товаров: 0