Качественные детали и логистика
Оригинальные и аналоговые запчасти с доставкой по России, Казахстану и Беларуси
©2022 PartSell ООО "Система" ИНН 2463123282 ОГРН 1212400004838
Центральный офис: г. Красноярск, Академика Киренского, д.87, пом.4
Телефон: 8 (800) 777-65-74 Email: zakaz@partsell.ru
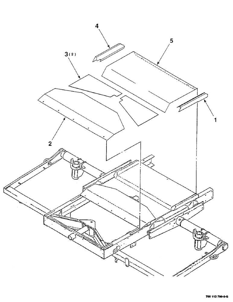
(10-04) - MAINFRAME ASSEMBLY
№
Артикул
Название
Примечание
Количество
1
700113741
CHANNEL
- left
1шт.
2
6594451
LARGE PLATE
PLATE - front
3
700113737
SHIELD
2шт.
4
700113742
- right
5
700113739
FLOOR
- rear
Выбрано товаров: 0