Запчасти Case IH 30 (D-11) - HYDRAULICS (35) - HYDRAULIC SYSTEMS

Схема запчастей Case IH 30 - (D-11) - HYDRAULICS (35) - HYDRAULIC SYSTEMS
FIT
1:1
100%

Артикул

Название

Примечание

Количество

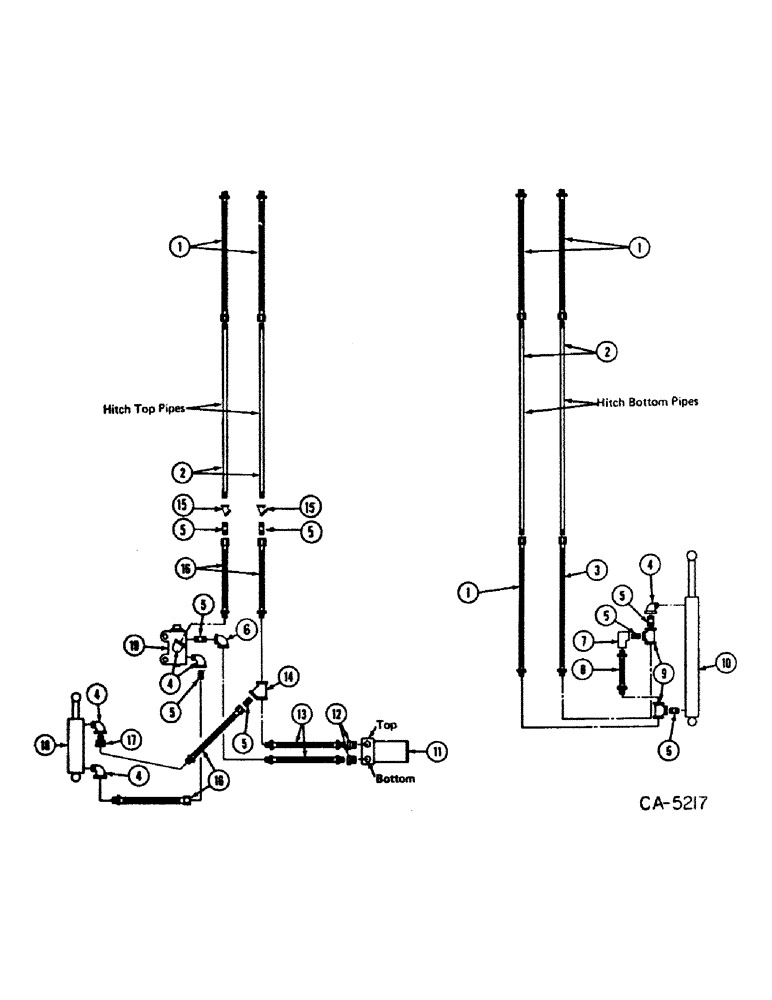
1

64471C1

HOSE

5шт.

2

64420C1

PIPE

oil line

4шт.

3

64470C1

HOSE, 8 in.

1шт.

4

108686

ELBOW,90 Degree, 1/2" NPT Street

1/2 90 deg str

5шт.

5

141504

PIPE,Nipple, 1/2" NPT x 1 1/2"

NIPPLE, 1/2 x 1-1/2 pipe

8шт.

6

119098

ELBOW,90 Degree, 1/2" NPT

1/2 90 deg pipe

1шт.

7

64422C1

VALVE

relief

1шт.

8

64473C1

HOSE

1шт.

9

138105

TEE,1/2" NPT, Fem

1/2 pipe

2шт.

10

64423C91

CYLINDER ASSY, 3 x 22 fork, for break down see cylinder assy

1шт.

11

64474C1

MOTOR

orbit

1шт.

12

366064R1

CONNECTOR, ELEC

UNION, adapter

3шт.

13

362213R91

HOSE ASSY.

HOSE

2шт.

14

64475C1

TEE

1шт.

15

119094

ELBOW, 1/2 45 deg pipe 45º, 1/2" NPT

1шт.

16

64472C1

HOSE

4шт.

17

524187R91

ADAPTER

1шт.

18

381854R94

CYLINDER

ASSEMBLY, 2-1/2 x 8 swing, refer to cyl, 1 for components

1шт.

386687R93

SEAL KIT

o-ring & seal

1шт.

964406R1

ADAPTER, 90 deg union

2шт.

364885R1

O-RING,0.097" Thk x 0.755" ID, -910, Cl 6, 90 Duro

5/8 OD tube class 6

2шт.

19

64456C1

VALVE

selector

1шт.

Выбрано товаров: 22