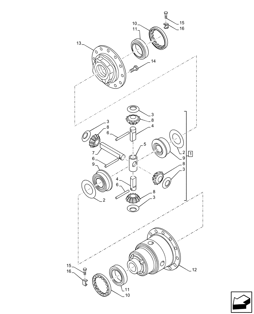
Запчасти Case IH FARMLIFT 632 (27.106.AC[02]) - VAR - 749493 - REAR AXLE, DIFFERENTIAL (OPEN) (27) - REAR AXLE SYSTEM

Схема запчастей Case IH FARMLIFT 632 - (27.106.AC[02]) - VAR - 749493 - REAR AXLE, DIFFERENTIAL (OPEN) (27) - REAR AXLE SYSTEM
5
3
2
8
9
14
15
6
6
8
4
2
8
13
11
10
11
10
7
15
12
3
4
3
16
9
3
6
8
16
1
FIT
1:1
100%

Артикул

Название

Примечание

Количество

1

47488474

DIFFERENTIAL

ASSY, Incl 2 - 9

1шт.

2

1967003C1

THRUST WASHER

2шт.

3

87727553

THRUST WASHER,20.27mm ID x 41.75mm OD x 1.5mm Thk

4шт.

4

247562A1

PIN

2шт.

5

300179A1

TOGGLE

1шт.

6

47488491

DOWEL

3шт.

7

87712525

SHAFT

1шт.

8

NSS

NOT SOLD SEPARAT

Gear, Incl in 1

4шт.

9

NSS

NOT SOLD SEPARAT

Seal, Incl in 1

2шт.

10

1966559C1

NUT

2шт.

11

1966894C1

BALL BEARING

2шт.

12

47488511

HOUSING

1шт.

13

47488512

COVER

1шт.

14

47551368

SCREW

12шт.

15

112486A1

BOLT,Hex, M6 x 12

2шт.

16

175959A1

BRACKET

2шт.

Выбрано товаров: 16