Запчасти Case IH 1200 (170) - CONTROL VALVE (08) - HYDRAULICS

Схема запчастей Case IH 1200 - (170) - CONTROL VALVE (08) - HYDRAULICS
20
13
14
40
1
6
1
36
37
19
34
10
23
24
8
2
31
42
41
3
39
29
17
22
18
35
5
16
4
28
32
27
3
2
13
30
33
15
4
25
5
38
12
15
9
21
26
14
11
FIT
1:1
100%

Артикул

Название

Примечание

Количество

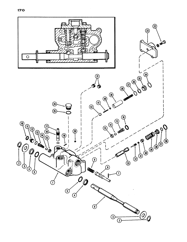
L10043

VALVE

ASSY. - depth control, Includes: Ref. 1 - 42

1шт.

1

NSS

NOT SOLD SEPARAT

BODY - control valve, (Order 110043)

1шт.

2

A35094

SNAP RING,#81, Ext

Ring, Snap, , spool #81, Ext

2шт.

3

A35093

WASHER

- spool

2шт.

4

A56340

OIL SEAL

- oil, valve spool

2шт.

5

A27352

O-RING,0.859" ID x 1.137" OD x 0.139"

"O" RING - valve spool

2шт.

6

A56338

SPOOL

- control valve

1шт.

7

138-59

LOCK PIN,1/8" x 7/8", Slotted

PIN, 1/8" x 7/8", Slotted

1шт.

8

A56339

PISTON

- valve control

1шт.

9

A35700

SPRING

- control valve piston

1шт.

10

A35694

SNAP RING,0.688", Int, #68

Ring, Snap, , plug 0.688", Int, #68

1шт.

11

A35693

PLUG

- valve check

1шт.

12

A27410

O-RING,0.487" ID x 0.693" OD x 0.103"

"O" RING - check plug

1шт.

13

A35099

SPRING

- valve check

2шт.

14

211-12

BALL,7/16 Dia

- check, 7/16" dia.

2шт.

15

L10120

SEAT

- load check

2шт.

16

A35547

RING

- seal, check port

1шт.

17

A32363

SPOOL

- throttle, valve

1шт.

18

A40109

O-RING,0.07" Thk x 0.364" ID, -12, Cl 6, 90 Duro

"O" RING - throttle spool

1шт.

19

138-39

LOCK PIN,3/32" x 5/8", Slotted

PIN, 3/32" x 5/8", Slotted

1шт.

20

221-1850

PLUG,Hex Soc, 1/16"-27

- pipe, 1/16" hex. sckt. hd.

1шт.

21

221-1843

PLUG

- pipe, 3/8" hex. sckt. hd.

2шт.

22

13-518

BOLT,Hex, 5/16" - 18 x 1-1/8", Gr 5

Cover Hex, 5/16"-18 x 1 1/8", G5

4шт.

23

A56337

COVER

- valve

1шт.

24

86512512

PLUG,7/8" - 14 ORB

Incl. Ref. 25 Hex Hd, 7/8"-14 ORB

1шт.

25

237-6010

O-RING,0.097" Thk x 0.755" ID, -910, Cl 6, 90 Duro

"O" RING - plug, 5/8 x 3/4 x 3/32"

1шт.

26

A35548

RING

- seal, trigger valve

1шт.

27

A35690

RING

- snap, trigger valve

1шт.

28

A35689

RETAINER

- snap ring

1шт.

29

A35691

SPRING

- trigger valve

1шт.

30

A35097

PLUG

- poppet

1шт.

31

A35785

SET SCREW,5/16" - 18 x 1/4"

- set, needle valve

1шт.

32

A35784

VALVE

- needle

1шт.

33

A32982

PISTON

- trigger valve

1шт.

34

A35104

O-RING,0.103" Thk x 0.862" ID, -118, Cl 5, 75 Duro

"O" RING - poppet

1шт.

35

A35696

SLEEVE

- poppet

1шт.

36

A35698

BACK-UP RING

RING - sleeve back-up

1шт.

37

A27365

O-RING,0.103" Thk x 0.75" ID, -116, Cl 5, 75 Duro

"O" RING - piston

1шт.

38

A35103

SPRING

- poppet

1шт.

39

A35695

PISTON

POPPET - lowering

1шт.

40

A35102

NUT

- lock, #10-32 hex.

1шт.

71

A35101

SET SCREW,Hex Skt, #10 - 32 x 1 1/4", Gr 5

- set, poppet

1шт.

42

211-13

BALL,1/2" Dia

- poppet 1/2" Dia

1шт.

Выбрано товаров: 43