Запчасти Case IH 1200 (254) - HYDRAULIC OIL RESERVOIR AND FILTER (08) - HYDRAULICS

Схема запчастей Case IH 1200 - (254) - HYDRAULIC OIL RESERVOIR AND FILTER (08) - HYDRAULICS
20
1
17
9
12
18
23
5
11
26
4
19
15
14
21
8
2
16
3
13
10
6
10
24
27
7
28
22
25
FIT
1:1
100%

Артикул

Название

Примечание

Количество

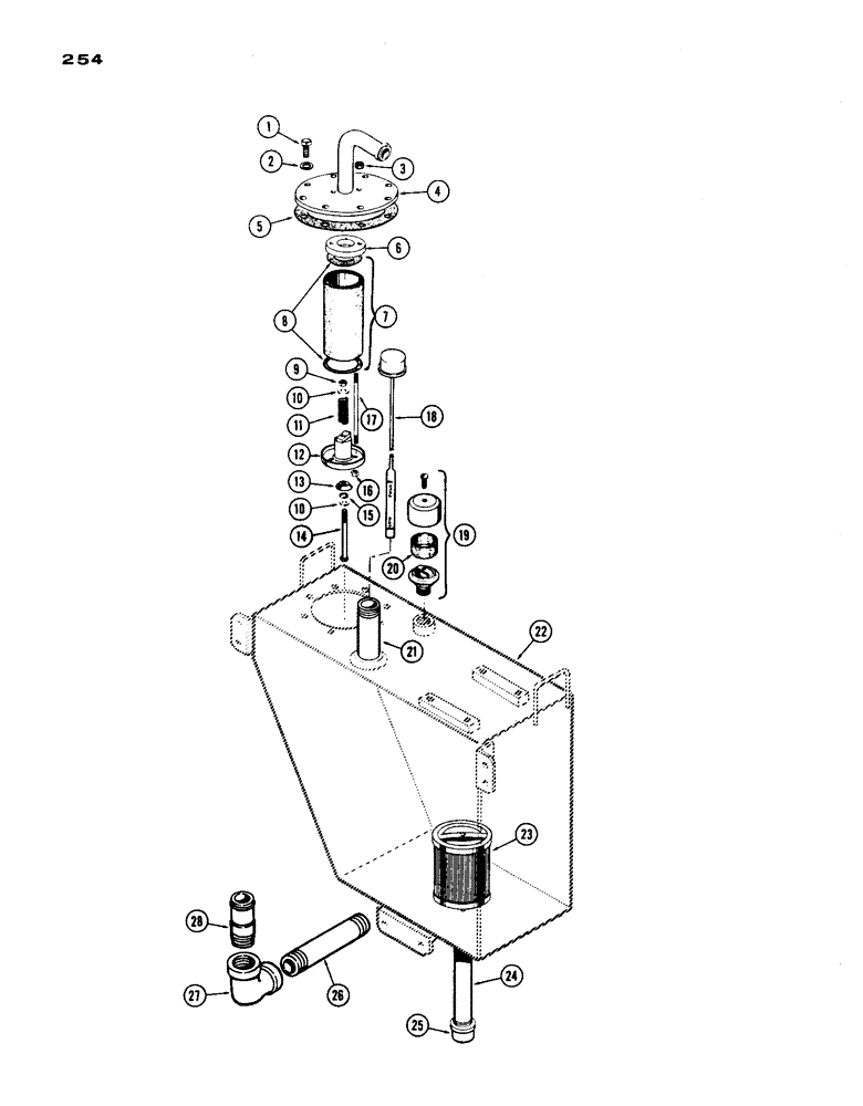
A55272

TANK ASSY. - hydraulic oil, w/filter, Includes: Ref. 1 - 25

1шт.

1

13-616

BOLT,Hex, 3/8" - 16 x 1", Gr 5, Full Thd

Cover mounting Hex, 3/8"-16 x 1", G5, Full Thd

8шт.

2

92-6

LOCK WASHER,3/8"

8шт.

3

25-104

NUT,1/4"-20, G5

2шт.

4

A55273

COVER - filter, oil tank

1шт.

5

A17427

GASKET

- filer cover, oil tank

1шт.

6

A17420

CYLINDER END CAP

CAP - oil tank filter

1шт.

7

A33487

KIT

ELEMENT KIT - filter, Includes: Ref. 8

1шт.

8

A17425

GASKET

- filter element

2шт.

9

131-506

NUT,1/4-20

NUT - flexloc, 1/4" N.C. hex.

1шт.

10

195-18

WASHER,1/4"

- flat 1/4"

2шт.

11

A30709

VALVE SPRING

SPRING - relief, oil filter

1шт.

12

A17419

CYLINDER END CAP

CAP - oil filter

1шт.

13

A174236

COVER - relief, oil filter

1шт.

14

13-480

CAP,Hex, 1/4" - 20 x 5", Gr 5

BOLT - filter cap, 1/4 x 5" N.C. hex.

1шт.

15

A27358

O-RING,0.07" Thk x 0.239" ID, -10, Cl 5, 75 Duro

"O" RING - filter relief cover

1шт.

16

131-506

NUT,1/4-20

NUT - flexloc, 1/4" N.C. hex.

2шт.

17

A17424

STUD

- retainer, oil filter

2шт.

18

A55178

GAUGE - level, hyd. oil

1шт.

19

A9238

BREATHER

ASSY. - hyd. oil tank, Includes: Ref. 20

1шт.

20

A10059

FILTER, ELEMENT

ELEMENT - breather

1шт.

21

221-1270

NIPPLE - 1-1/4 x 6" pipe

1шт.

22

A55197

TANK - hydraulic oil

1шт.

23

A17413

FILTER

- oil, hyd. pump inlet

1шт.

24

A56114

NIPPLE - 1 x 13-1/2" pipe

1шт.

25

221-1527

COUPLING

CAP - 1/4" pipe

1шт.

26

221-1248

NIPPLE - 1" pipe x 6-1/2"

1шт.

27

221-1370

ELBOW

- 1" pipe x 45 deg.

1шт.

28

A12294

NIPPLE, LUBE

NIPPLE - oil, Serial Range: tank-pump

1шт.

Выбрано товаров: 29