Запчасти Case IH 1200 (256) - CONTROL VALVE (08) - HYDRAULICS

Схема запчастей Case IH 1200 - (256) - CONTROL VALVE (08) - HYDRAULICS
28
17
42
6
40
43
2
19
29
4
41
27
11
30
13
7
36
6
14
8
37
15
29
31
25
33
10
17
20
12
15
23
38
16
18
35
5
21
39
39
26
32
24
10
30
18
22
34
3
9
FIT
1:1
100%

Артикул

Название

Примечание

Количество

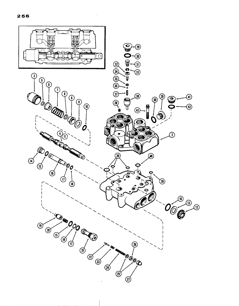
A56427

VALVE ASSY. - hydraulic control, Includes: Ref. 1 - 43

1шт.

A55165NS

VALVE ASSY. - hydraulic control (Order A56427), Includes: Ref. 1 - 43

1шт.

1

NSS

NOT SOLD SEPARAT

BODY - control valve (Order A56427)

1шт.

2

NSS

NOT SOLD SEPARAT

MANIFOLD - valve body (Order A56427)

1шт.

3

A14529

CAP

- control valve spool

2шт.

4

A25560

SPOOL ASSY. - double acting, Includes: Ref. 5 - 11

2шт.

5

A27020

RING

- snap, spring retaining

1шт.

6

A14533

BRONZE BUSHING

SPACER - spool spring

2шт.

7

A25285

SPRING

- valve spool

1шт.

8

A25286

WASHER

- spool spring

1шт.

9

A14535

RETAINER

- spool

1шт.

10

R17547

O-RING,0.103" Thk x 0.75" ID, -116, Cl 5, 75 Duro

"O" RING - valve spool

2шт.

11

NSS

NOT SOLD SEPARAT

SPOOL - double acting valve (Order A25560)

1шт.

12

L30744

GLAND

RETAINER & WIPER - valve spool

2шт.

13

A14535

RETAINER

- seal

2шт.

14

71100209

PLUG,Hex Soc, 3/4"-16 ORB

Assy, Relief port, 1/2" SAE str. thread, Incl Ref 15 Hex Soc, 3/4"-16 ORB

1шт.

16

A25287

SEAT

- main, relief valve

1шт.

17

D26264

X

RING - relief valve back up

2шт.

18

D26265

O-RING,1.78mm Thk x 14mm ID, 70 Duro

"O" RING - pilot relief valve

2шт.

19

A16888

VALVE POPPET

POPPET ASSY. - pilot relief valve

1шт.

20

D26261

VALVE SPRING

SPRING - poppet plunger

1шт.

21

A25291

CAP

- pilot plunger

1шт.

22

D26267

PLUNGER

- pilot, valve

1шт.

23

D26268

SPRING

- pilot valve

1шт.

24

82-528

SET SCREW

SCREW - set, 5/16 x 1-3/4" N.C., headless

1шт.

25

D26270

WASHER, SEALING

SEAL - pilot valve

2шт.

26

25-155

JAM NUT,Jam, 5/16"-24, G5

- jam, 5/16" N.F., hex.

1шт.

27

129-514

CROWN NUT,Low, 5/16" - 24

- acorn, 5/16" N.F. hex.

1шт.

28

221-1012

DRAIN PLUG,Sq Hd, 1/4"-18 NPTF

PLUG - pipe, 1/4" sq. hd.

1шт.

29

9841223

PLUG,1-1/16" - 12 ORB

Assy, Check valve & carry over port, Incl. Ref. 30 Hex Soc, 1 1/16"-12 ORB

5шт.

30

218-5008

O-RING,0.116" Thk x 0.924" ID, -912, Cl 6, 90 Duro

"O" RING - valve plug, 59/64 x 1-5/32 x 7/64"

1шт.

31

A25297

SPRING - check valve (light)

4шт.

32

A25295

RING - check valve retainer

4шт.

33

A25299

X

RING - snap, check valve retainer

4шт.

34

A25296

SPRING - check valve (Heavy)

4шт.

35

A25294

SADDLE - check valve ball

4шт.

36

211-7

BALL,1/4" Dia

- saddle (steel) 1/4" Dia

4шт.

37

L30420

PIN - pilot (Coded Black, 1.0000") (See service note)

1шт.

37

L30419

PIN - pilot (Coded Blue, 1.025") (See service note)

1шт.

37

L30418

PIN - pilot (Coded Yellow, 1.050") (See service note)

1шт.

37

L30417

PIN - pilot, (Coded Green, 1.075") (See service note)

1шт.

37.

L30416

O-RING

PIN - pilot, (Coded Red, 1.100") (See service note)

1шт.

38

A25292

POPPET - check valve

4шт.

39

A25282

O-RING

"O" RING - check valve & inlet face

5шт.

40

A25283

"O" RING - outlet face, valve

1шт.

41

86625138

PLUG,7/18" - 14

Assy, Control valve port Hex Soc, 7/8"-14 ORB

4шт.

42

237-6010

O-RING,0.097" Thk x 0.755" ID, -910, Cl 6, 90 Duro

"O" RING - port plug, 3/4 x 15/16 x 3/32"

1шт.

43

166-32

12 PT SCREW,Flg, 5/16" - 18 x 2 1/2", Gr 8

SCREW - 5/16 x 2-1/2" N.C., Ferry hd.

6шт.

A25259

SEAL

REPAIR KIT - valve seal and o-ring (Not illustrated)

1шт.

15

218-5006

O-RING,0.087" Thk x 0.644" ID, -908, Cl 6, 90 Duro

"O" RING - plug & pilot valve, 41/64 x 13/16 x 5/64"

2шт.

Выбрано товаров: 50