Запчасти Case IH 1200 (054) - GRILLE HOUSING AND HOOD (09) - CHASSIS

Схема запчастей Case IH 1200 - (054) - GRILLE HOUSING AND HOOD (09) - CHASSIS
13
11
10
21
30
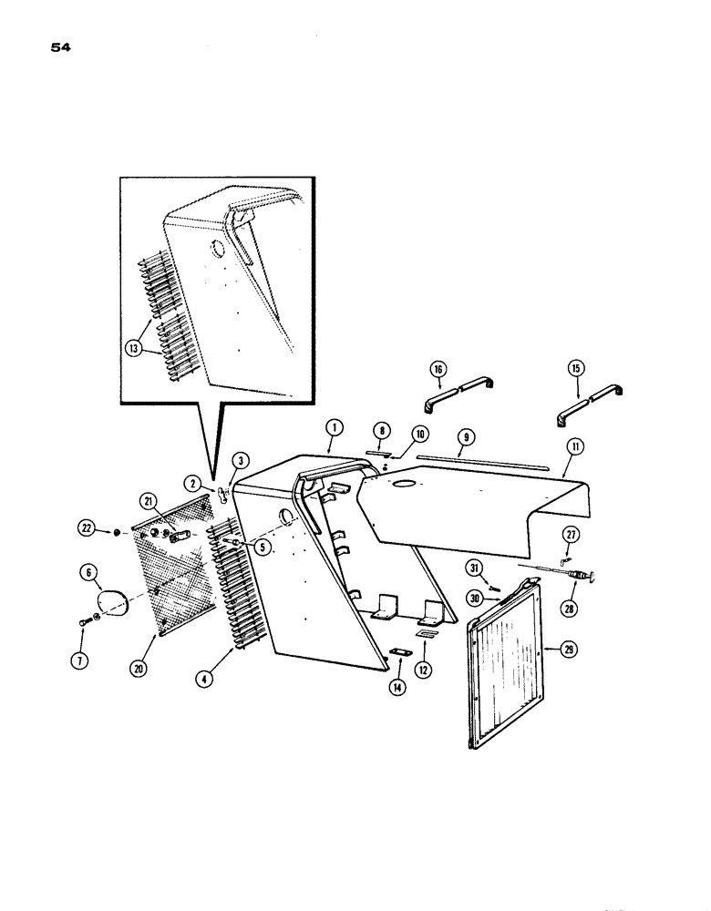
1
8
12
15
5
7
6
20
4
31
28
29
3
2
22
16
27
14
9
FIT
1:1
100%

Артикул

Название

Примечание

Количество

1

L10049

FRAME ASSY. - radiator & grille

1шт.

13-824

BOLT,Hex, 1/2" - 13 x 1-1/2", Gr 5, Full Thd

6шт.

13-624

BOLT,Hex, 3/8" - 16 x 1-1/2", Gr 5

- 3/8" x 1-1/2" N.C., hex.

2шт.

2

A24526

MEDALLION - frt. headlite mtg.

1шт.

3

131-131

NUT

- speed, 3/16" push on

2шт.

4

L10686

GRATING - radiator grille (Unit S/N 9801866 & after)

1шт.

5

13-612

BOLT,Hex, 3/8" - 16 x 3/4", Gr 5, Full Thd

8шт.

6

L10249

COVER - frt. mtg. air cleaner hole

1шт.

7

75-48

SCREW,Rd, 1/4" - 20 x 1/2"

- mach., 1/4 x 1/2" N.C., rd. hd.

2шт.

8

A56113

TRIM - hood moulding

1шт.

9

A56112

TRIM - hood moulding

1шт.

10

A11459

BOLT

- retaining, hood trim

5шт.

11

A55154

HOOD - engine

1шт.

164-122

SCREW - 3/8" x 1/2" N.F., button hd.

6шт.

164-551

HEX SOC SCREW,Btn Hd, 3/8" - 16 x 1"

SCREW - 3/8" x 1" N.C., button hd.

2шт.

12

A56516

SHIM,.030" Thk

Grille radiator .030" Thk

4шт.

13

A55969

GRATING - radiator grille (Prior Unit S/N 9801866)

2шт.

14

L11399

PLATE - mounting, grille housing

2шт.

15

L11785

SHIM

PAD - hood rear anti-squeak

1шт.

16

L11786

PAD - hood front anti-squeak

2шт.

L80028

SCREEN ATTACHMENT - radiator (Mach. Attach.), Includes: Ref. 20 - 22

1шт.

20

A56542

SCREEN ASSY. - radiator

1шт.

21

A56544

BRACKET

- mtg., screen, radiator

6шт.

22

A56545

FASTENER

- screen, radiator

6шт.

27

51200321

CLAMP

CLIP - shutter control, radiator

1шт.

113-421

BOLT,Hex, 1/2" - 13 x 2", Gr 5

Shutter clip, radiator Hex, 1/2"-13 x 2", G5

1шт.

28

A55413

CONTROL ASSY. - shutter, radiator

1шт.

29

A56437

SHUTTER ASSY - radiator, Includes: Ref. 30

1шт.

30

A9909

SPRING - shutter lever tension, radiator

1шт.

31

14-512

BOLT,Hex, 5/16" - 24 x 3/4", Gr 5, Full Thd

Radiator shutter Hex, 5/16"-24 x 3/4", G5, Full Thd

8шт.

Выбрано товаров: 0