Запчасти Case IH 1200 (016) - FUEL INJECTION SYSTEM, (451) DIESEL ENGINE (02) - ENGINE

Схема запчастей Case IH 1200 - (016) - FUEL INJECTION SYSTEM, (451) DIESEL ENGINE (02) - ENGINE
17
3
22
4
5
14
28
25
33
37
21
10
39
41
35
38
24
15
36
26
27
8
29
7
13
31
30
23
16
1
9
50
43
49
2
12
34
32
3
48
42
6
40
47
18
31
18
20
13
19
11
FIT
1:1
100%

Артикул

Название

Примечание

Количество

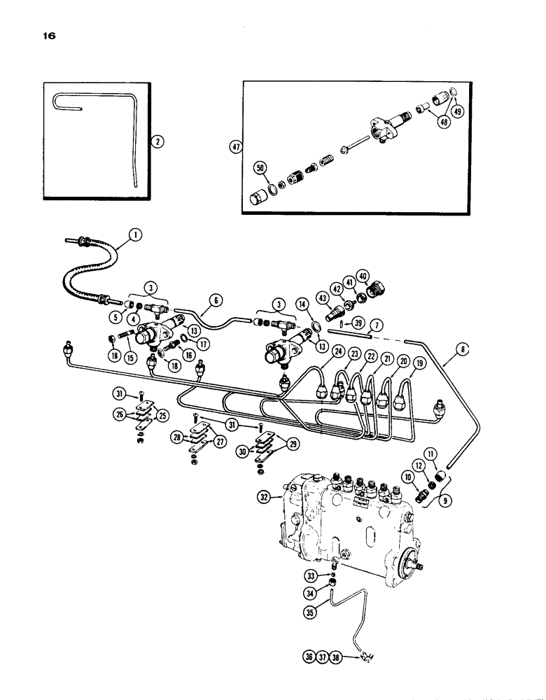
1

L10042

HOSE - fuel tank to #6 inj. tee (Eng. S/N 2090853 and after)

1шт.

2

A20691

TUBE #6 injector tee to primary filter (Prior Engine S/N 2090853)

1шт.

3

222-72

TEE,1/4" Flex Tube Run x 1/8" NPTF Br

#72 FL - 1/4" x 1/8" P.T., Includes: Ref. 4 and 5

6шт.

4

222-102

SLEEVE,1/4" Tube

#60 Fl. 1/4" Tube

2шт.

5

87017024

TUBE NUT,1/2"-24

NUT #61 fl., 1/4" tube

2шт.

6

A27981

TUBE

- injector leak-off, lower

3шт.

7

A20162

TUBE

- injector leak-off, upper

2шт.

8

A22186

TUBE

- leak-off, pump to #1 injector

1шт.

9

A28098

VALVE

CHECK VALVE ASSY - leak-off tube to pump, Includes: Ref. 10 - 12

1шт.

10

NSS

NOT SOLD SEPARAT

CHECK VALVE - leak-off (Order Ref. 9)

1шт.

11

221-112

PIPE

NUT #61 FL - 1/4" tube

1шт.

12

222-102

SLEEVE,1/4" Tube

#60 Fl. 1/4" Tube

1шт.

13

A21149

INJECTOR ASSY. - injector, w/holder and gasket, Includes: Ref. 14

6шт.

14

A27928

WASHER,14.22mm ID x 19.18mm OD x 2.06mm Thk

GASKET - injector nozzle

1шт.

15

A27929

STUD

- nozzle holder, small

6шт.

16

A10678

STUD

- nozle holder, large

6шт.

17

A10679

GASKET

- large nozzle holder stud

6шт.

18

25-116

NUT,Hex, 3/8"-24, G5

- 3/8" N.F. hex.

12шт.

19

A24949

TUBE ASSY.

TUBE - injector, w/nuts and sleeves, #1 cyl.

1шт.

20

A24951

TUBE ASSY.

TUBE - injection, w/nuts and sleeves, #2 cyl.

1шт.

21

A24953

TUBE

- injector, w/nuts and sleeves, #3 cyl.

1шт.

22

A24955

TUBE ASSY.

TUBE - injector, w/nuts and sleeves, #4 cyl.

1шт.

23

A24957

TUBE ASSY.

TUBE - injector, w/nuts and sleeves, #5 cyl.

1шт.

24

A24964

TUBE ASSY.

TUBE - injector, w/nuts and sleeves, #6 cyl.

1шт.

25

A27978

CLAMP

- injector tube (5 tubes)

2шт.

26

A27980

CUSHION

- tube clamp (5 tubes)

2шт.

27

A27977

CLAMP

- injector tube (3 tubes)

2шт.

28

A27979

CUSHION

- tube clamp (3 tubes)

2шт.

29

A20508

CLAMP

- injector tube (2 tubes)

2шт.

30

A20509

CUSHION

- tube clamp (2 tubes)

2шт.

31

173-102

SCREW,Sl Rnd Hd, #10 - 24 x 1"

- mach., #10 x 1" rd. hd.

6шт.

32

A24939

PUMP ASSY. - fuel, multi-plunger (Repairs, P. 19)

1шт.

33

222-102

SLEEVE,1/4" Tube

#60 Fl. 1/4" Tube

1шт.

34

87017024

TUBE NUT,1/2"-24

NUT - #66 fl. x 1/4" tube

1шт.

35

A22640

TUBE

- oil gallery to fuel pump

1шт.

36

222-42

ELBOW,90 Degree, 1/2"-24 Fem x 1/8"-27 NPTF

- #69 fl. 90deg., 1/4" tube x 1/8" P.T., Includes: Ref. 37 and 38

1шт.

37

222-102

SLEEVE,1/4" Tube

#60 Fl. 1/4" Tube

1шт.

38

87017024

TUBE NUT,1/2"-24

NUT - #61 fl., 1/4" tube

1шт.

39

A27898

PIN - locating, powrcel

6шт.

40

A11813

PLUG

SCREW - powrcel clamp

6шт.

41

A11812

CLAMP

- powrcel

6шт.

42

A24148

CAP

- powrcel

6шт.

43

A24947

VALVE BODY

BODY ASSY - powrcel

6шт.

47

A21149

INJECTOR ASSY - injector, fuel, Includes: Ref. 48 - 50

6шт.

48

A24972

NOZZLE INJECTION

NOZZLE ASSY - injector, w/gasket, fuel, Includes: Ref. 49

1шт.

49

A27928

WASHER,14.22mm ID x 19.18mm OD x 2.06mm Thk

GASKET - injector nozzle, fuel

1шт.

50

A31062

GASKET

- injector cap, fuel

1шт.

Выбрано товаров: 47