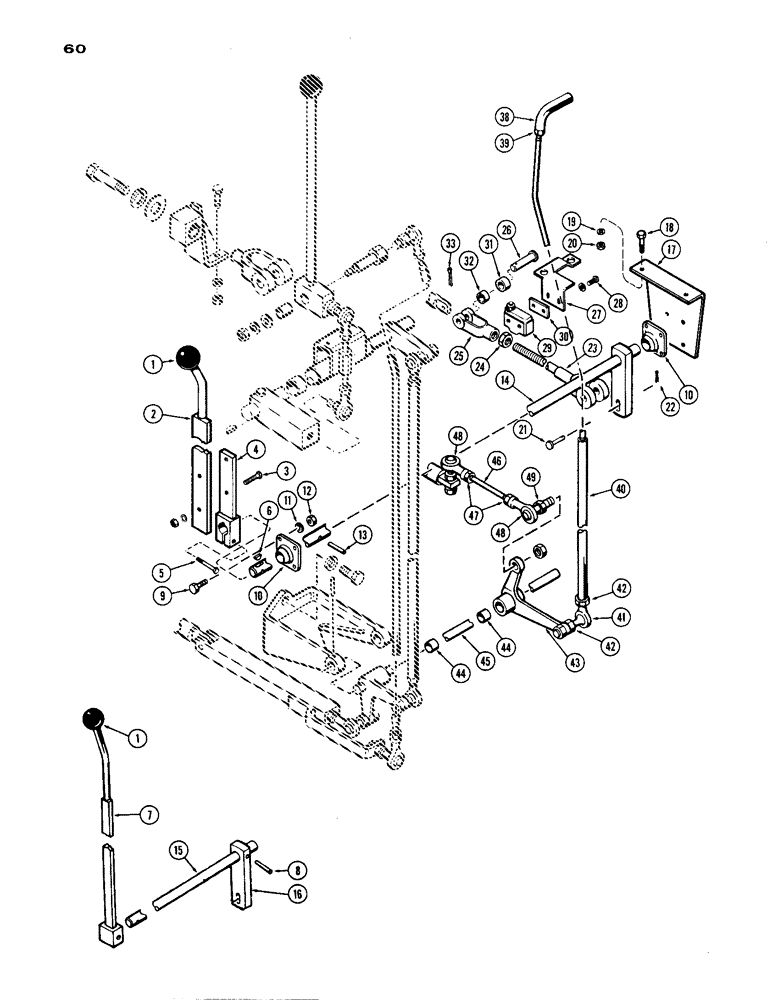
Запчасти Case IH 1200 (060) - FORWARD AND REVERSE SHIFT LINKAGE, USED PRIOR TO TRACTOR SERIAL NUMBER 9801866 (06) - POWER TRAIN

Схема запчастей Case IH 1200 - (060) - FORWARD AND REVERSE SHIFT LINKAGE, USED PRIOR TO TRACTOR SERIAL NUMBER 9801866 (06) - POWER TRAIN
10
33
42
38
14
21
39
25
31
16
48
45
26
27
20
9
2
30
44
13
15
44
19
6
47
1
24
7
11
18
29
28
17
48
4
42
46
49
41
12
5
23
32
43
10
22
1
8
40
3
FIT
1:1
100%

Артикул

Название

Примечание

Количество

1

A18852

KNOB

- hand

1шт.

2

L10061

LEVER - forward & reverse (Unit S/N 9800221 to Unit S/N 9801866)

1шт.

3

13-612

BOLT,Hex, 3/8" - 16 x 3/4", Gr 5, Full Thd

2шт.

4

L10065

LEVER - frwd. & reverse, lower (Unit S/N 9800221 to Unit S/N 9801866)

1шт.

5

13-624

BOLT,Hex, 3/8" - 16 x 1-1/2", Gr 5

- 3/8" x 1-1/2" N.C., hex

1шт.

6

126-119

WOODRUFF KEY,#11, 3/16" x 7/8", HT

KEY - Woodruff #7

1шт.

7

A55542

LEVER - frwd & reverse (Prior to Unit S/N 9800221)

1шт.

8

135-261

PIN - groove, 1/4" x 1-1/2" Type 2

2шт.

9

13-412

BOLT,Hex, 1/4" - 20 x 3/4", Gr 5, Full Thd

- 1/2 x 3/4" N.C. hex. hd.

8шт.

10

A55553

BEARING - cross shaft

2шт.

11

80679

LOCK WASHER,1/20.507 CST ZND

WASHER, LOCK, 1/2"

8шт.

12

280431

NUT,1/2"-13, G5

8шт.

13

138-138

LOCK PIN,1/4" x 1 1/2", Slotted

PIN, , Cross shaft 1/4" x 1 1/2", Slotted

1шт.

14

L10059

SHAFT - cross, frwd. & reverse (Unit S/N 9800221 to Unit S/N 9801866)

1шт.

15

A55552

SHAFT - cross, frwd. & reverese (Prior to Unit S/N 9800221)

1шт.

16

A55555

LEVER - cross shaft to link (Prior to Unit S/N 9800221)

1шт.

17

A55554

BRACKET - L.H. bearing

1шт.

18

13-616

BOLT,Hex, 3/8" - 16 x 1", Gr 5, Full Thd

2шт.

19

92-6

LOCK WASHER,3/8"

2шт.

20

25-106

NUT,3/8"-16, G5

- 3/8" N.C. hex.

2шт.

21

A56445

PIN - shaft, Serial Range: lever-link

1шт.

22

132-46

COTTER PIN,1/8" x 3/4"

Pin, Split (Cotter), 1/8" x 3/4"

1шт.

23

A56443

LINK -, Serial Range: lever-spool

1шт.

24

25-118

NUT,1/2"-20, G5

- 1/2" N.F. hex

1шт.

25

A56444

YOKE - connecting link

1шт.

26

A56471

PIN - link, Serial Range: yoke-spool

1шт.

27

A56470

BRACKET - neutral safety switch

1шт.

28

173-68

SCREW,Sl Rnd Hd, #6 - 32 x 1 1/4"

- mach., #6 x 1-1/4" N.C. rd. hd.

2шт.

29

A19513

SWITCH

- neutral safety

1шт.

30

A56474

SPACER - safety switch

1шт.

31

A56473

ROLLER - frwd. & reverse shifting pin

1шт.

32

A56472

SPACER

- shifting pin roller

1шт.

33

132-7

COTTER PIN,1/16" x 3/4"

Pin, Split (Cotter), 1/16" x 3/4"

1шт.

38

A55557

HANDLE - shift rod, hi-low shift linkage used prior to tractor s/n 9801866

1шт.

39

25-146

JAM NUT,Jam, 3/8"-16, G5

- jam, 3/8" N.C. hex., hi-low shift linkage used prior to tractor s/n 9801866

1шт.

40

A55601

ROD - shift, hi-low shift linkage used prior to tractor s/n 9801866

1шт.

41

A55558

BALL JOINT

END - shift rod to bellcrank, hi-low shift linkage used prior to tractor s/n 9801866

1шт.

42

25-158

JAM NUT,Jam, 1/2"-20, G5

- jam, 3/8" N.F. hex., hi-low shift linkage used prior to tractor s/n 9801866

2шт.

193-77

LOCK WASHER,Int Tooth, 1/2"

WASHER, LOCK, , Hi-low shift linkage used prior to tractor S/N 9801866 Int Tooth, 1/2"

1шт.

43

A55671

BELLCRANK ASSY - range shift, hi-low shift linkage used prior to tractor s/n 9801866, Includes: Ref. 44

1шт.

44

A56423

BUSHING, hi-low shift linkage used prior to tractor s/n 9801866

2шт.

45

A55563

SHAFT - cross, hi-low shift linkage used prior to tractor s/n 9801866

1шт.

46

A55661

ROD - bellcrank to spool, hi-low shift linkage used prior to tractor s/n 9801866

1шт.

47

86585245

SPECIAL NUT,JAM, 5/8" - 18

- jam, 3/8" N.F. hex., hi-low shift linkage used prior to tractor s/n 9801866

2шт.

48

A55551

END - rod, hi-low shift linkage used prior to tractor s/n 9801866

2шт.

49

25-116

NUT,Hex, 3/8"-24, G5

- 3/8" N.F. hex, hi-low shift linkage used prior to tractor s/n 9801866

2шт.

92-6

LOCK WASHER,3/8"

hi-low shift linkage used prior to tractor s/n 9801866 3/8"

2шт.

Выбрано товаров: 47