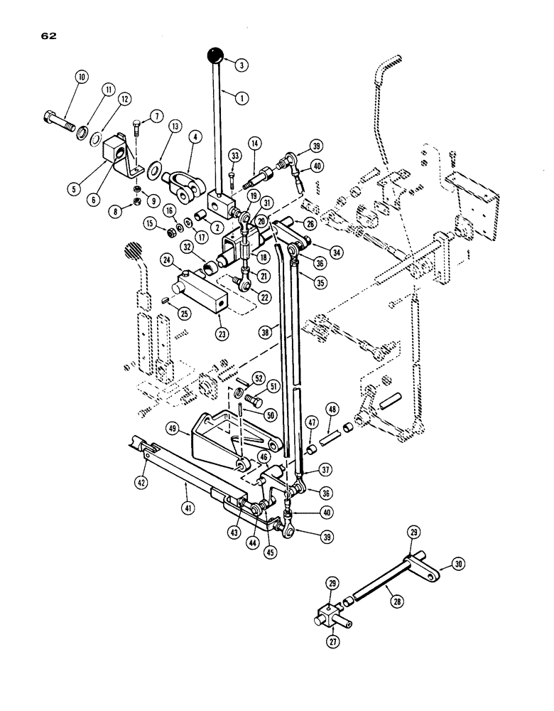
Запчасти Case IH 1200 (062) - TRANSMISSION RANGE SHIFT LINKAGE, USED PRIOR TO TRACTOR SERIAL NUMBER 9801866 (06) - POWER TRAIN

Схема запчастей Case IH 1200 - (062) - TRANSMISSION RANGE SHIFT LINKAGE, USED PRIOR TO TRACTOR SERIAL NUMBER 9801866 (06) - POWER TRAIN
20
25
21
13
32
14
9
10
29
28
36
30
40
22
19
33
46
45
40
52
1
17
47
34
36
24
18
43
16
38
49
5
35
7
37
39
23
2
15
12
44
3
48
4
27
39
11
31
41
51
29
26
50
6
8
42
FIT
1:1
100%

Артикул

Название

Примечание

Количество

1

A55534

LEVER - hand range shift, Includes: Ref. 2

1шт.

2

A55533

BUSHING

BEARING - lever

1шт.

3

A18852

KNOB

- hand

1шт.

4

A55609

YOKE - support, hand lever

1шт.

5

A55537

SUPPORT - pivot, hand lever, Includes: Ref. 6

1шт.

6

A55541

BUSHING

1шт.

7

13-620

BOLT,Hex, 3/8" - 16 x 1-1/4", Gr 5, Full Thd

2шт.

8

25-106

NUT,3/8"-16, G5

- 3./8" N.C. hex.

2шт.

9

92-6

LOCK WASHER,3/8"

2шт.

10

13-712

SCREW,Hex, 7/16" - 14 x 3/4", Gr 5, Full Thd

BOLT, Hex, 7/16"- 14 x 3/4", G5, Full Thd

1шт.

11

192-22

LOCK WASHER,7/16"

WASHER, LOCK, 7/16"

1шт.

12

192-529

WASHER - plain, 7/16" SAE

1шт.

13

A55610

WASHER - thrust

1шт.

14

A55611

PIN - pivot, hand lever

1шт.

15

25-148

JAM NUT,Jam, 1/2"-13, G5

- jam, 1/2" NC hex

1шт.

16

80679

LOCK WASHER,1/20.507 CST ZND

WASHER, LOCK, 1/2"

1шт.

17

195-533

WASHER,1/2", SAE

1шт.

18

L10063

ROD - link, upper cross shaft

1шт.

19

L10064

END - link, rod

1шт.

20

129-363

NUT - jam, 3/8" N.F. hex

1шт.

21

25-156

JAM NUT,Jam, 3/8"-24, G5

- jam, 3.8" N.F. hex

3шт.

22

A55551

END - rod

1шт.

23

L10053

LEVER - shifter, outer (Unit S/N 9800221 to Unit S/N 9801866)

1шт.

24

13-614

BOLT,Hex, 3/8" - 16 x 7/8", Gr 5, Full Thd

1шт.

25

126-114

WOODRUFF KEY,#7, 1/8" x 3/4", HT

1шт.

26

L10056

LEVER - trans. shift (Unit S/N 9800221 to Unit S/N 9801866)

1шт.

27

A55546

LEVER - shift, interm. (Prior Unit S/N 9800221)

1шт.

28

A55560

SHAFT - cross, upper (Prior Unit S/N 9800221)

1шт.

29

135-261

PIN - groove, 1/4" x 1-1/2" Type 2

2шт.

30

A55561

LEVER - cross shaft to tube (Prior Unit S/N 9800221)

1шт.

31

A55530

BRACKET - support, cross shaft, Includes: Ref. 32

1шт.

32

A55533

BUSHING

- cross shaft

2шт.

33

15-512

BOLT (MACHINE)

BOLT - 5/16" x 3/4" N.C. hex hd.

2шт.

34

25-118

NUT,1/2"-20, G5

- 1/2" N.F. hex.

2шт.

35

A56133

LINK

ASSY - lever to bellcrank, Includes: Ref. 36 and 37

1шт.

36

A55558

BALL JOINT

END - tube, Serial Range: lever-bellcrank

2шт.

37

25-158

JAM NUT,Jam, 1/2"-20, G5

- jam 1/2" N.F. hex.

2шт.

38

A56134

LINK

ASSY - spool extension rotator, Includes: Ref. 39 and 40

1шт.

39

A55551

END - rod, spool extension

2шт.

40

25-156

JAM NUT,Jam, 3/8"-24, G5

- jam, 3/8" N.F. hex.

2шт.

41

A55605

EXTENSION - range shift spool

1шт.

42

A55562

PIN -, Serial Range: extension-spool

1шт.

132-24

COTTER PIN,3/32" x 1/2"

PIN, SPLIT (COTTER), 3/32" x 1/2"

1шт.

43

25-158

JAM NUT,Jam, 1/2"-20, G5

- jam, 1/2" N.F. hex

1шт.

44

A55558

BALL JOINT

END - spool, Serial Range: extension-bellcrank

1шт.

45

25-118

NUT,1/2"-20, G5

- 1/2" N.F. hex.

1шт.

46

A55670

BELLCRANK ASSY - range shift, Includes: Ref. 47

1шт.

47

A56423

BUSHING - bellcrank

2шт.

48

A55563

SHAFT - cross, bellcrank

1шт.

49

A55598

BRACKET - bellcrank shaft

1шт.

50

135-245

PIN - groove, 3/16" x 1-1/2" Type 2

1шт.

51

13-624

BOLT,Hex, 3/8" - 16 x 1-1/2", Gr 5

- 3/8" x 1-3/4" N.C. hex hd.

2шт.

52

92-6

LOCK WASHER,3/8"

2шт.

Выбрано товаров: 53