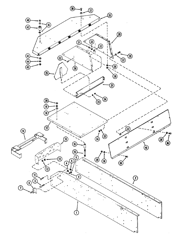
Запчасти Case IH 2470 (428) - PLATFORM AND SIDE PLATES, P.I.N. 8826987 AND AFTER (09) - CHASSIS/ATTACHMENTS

Схема запчастей Case IH 2470 - (428) - PLATFORM AND SIDE PLATES, P.I.N. 8826987 AND AFTER (09) - CHASSIS/ATTACHMENTS
40
10
11
22
2
8
32
36
20
3
24
5
18
12
30
21
35
4
44
9
32
25
14
41
45
34
38
38
6
38
37
23
19
36
28
31
17
43
13
39
39
33
29
36
33
42
46
16
1
32
7
15
FIT
1:1
100%

Артикул

Название

Примечание

Количество

1

A147516

PLATE - side, RH

1шт.

2

A147517

PLATE - side, LH

1шт.

3

113-410

BOLT,Hex, 1/2" - 13 x 1-1/2", Gr 5, Full Thd

Side plate to sill Hex, 1/2"-13 x 1 1/2", G5, Full Thd

4шт.

3

113-421

BOLT,Hex, 1/2" - 13 x 2", Gr 5

Side plate to sill Hex, 1/2"-13 x 2", G5

2шт.

3

113-600

BOLT,Hex, 5/8" - 11 x 1-3/4", Gr 5

Side plate to sill Hex, 5/8"-11 x 1 3/4", G5

8шт.

3

113-620

BOLT,Hex, 5/8" - 11 x 2-1/4", Gr 5

- 5/8 x 2-1/4" NC hex., side plate to sill, grade 5

8шт.

4

192-25

LOCK WASHER,5/8"

WASHER, LOCK, , WAK 5/8"

26шт.

4

192-23

LOCK WASHER,1/2"

WASHER, LOCK, 1/2"

6шт.

5

129-107

NUT,5/8"-11, G5

26шт.

5

129-105

NUT,Hex, 1/2" - 13, Gr 5

6шт.

6

A149027

ANGLE - rear cover mounting

2шт.

7

113-3

BOLT,Hex, 1/4" - 20 x 3/4", Gr 5

4шт.

8

192-19

LOCK WASHER,Helical Spring, 0.256" ID, CST, ZND

WASHER, LOCK, 1/4"

4шт.

9

7770

NUT,Hex, 1/4 - 20, Cl 5

1/4"-20, G5

4шт.

10

A76612

SUPPORT - side plate, hydraulic couplings

1шт.

11

113-410

BOLT,Hex, 1/2" - 13 x 1-1/2", Gr 5, Full Thd

Support to side plate Hex, 1/2"-13 x 1 1/2", G5, Full Thd

6шт.

12

192-23

LOCK WASHER,1/2"

WASHER, LOCK, 1/2"

6шт.

13

129-105

NUT,Hex, 1/2" - 13, Gr 5

6шт.

14

A149026

COVER - rear

1шт.

15

A147585

STUD

- platform spacing

6шт.

16

A147586

SPACER

- platform, short

4шт.

17

A149051

PLATFORM - rear

1шт.

18

195-533

WASHER,1/2", SAE

(17/32 x 1-1/16 x 3/32") (13.49 x 26.99 x 2.38 mm) 1/2", SAE

6шт.

19

192-23

LOCK WASHER,1/2"

WASHER, LOCK, 1/2"

6шт.

20

129-105

NUT,Hex, 1/2" - 13, Gr 5

6шт.

21

A76023

BRACKET - platform, rear

1шт.

22

113-118

BOLT,Hex, 5/16" - 18 x 5/8", Gr 5

SMV bracket to rear platform Hex, 5/16"-18 x 5/8", G5, Full Thd

4шт.

23

192-20

LOCK WASHER,Helical Spring, 0.318" ID, CST, ZND

WASHER, LOCK, 5/16"

4шт.

24

9635082

NUT,5/16" - 18, Gr 5

4шт.

25

A59450

WARNING SIGN

EMBLEM - SMV (Slow Moving Vehicle)

1шт.

28

A149057

SHEET

- side, RH

1шт.

29

A149058

SHEET

- side, LH

1шт.

30

113-221

BOLT,Hex, 3/8" - 16 x 7/8", Gr 5

Side sheet to platform Hex, 3/8"-16 x 7/8", G5, Full Thd

8шт.

31

113-206

BOLT,Hex, 3/8" - 16 x 3/4", Gr 5, Full Thd

Side sheet to guard Hex, 3/8"-16 x 3/4", G5, Full Thd

6шт.

32

195-525

WASHER,3/8", SAE

(13/32 x 13/16 x 1/16") (10.32 x 20.64 x 1.59 mm) 3/8", SAE

20шт.

33

192-21

LOCK WASHER,3/8"

WASHER, LOCK, 3/8"

14шт.

34

129-103

NUT,Hex, 3/8" - 16, Gr 5

NUT, 3/8"-16, G5

8шт.

35

A147285

CAP

- guard

1шт.

36

113-206

BOLT,Hex, 3/8" - 16 x 3/4", Gr 5, Full Thd

15шт.

37

195-525

WASHER,3/8", SAE

(13/32 x 13/16 x 1/16") (10.32 x 20.64 x 1.59 mm) 3/8", SAE

6шт.

38

192-21

LOCK WASHER,3/8"

WASHER, LOCK, 3/8"

13шт.

39

129-103

NUT,Hex, 3/8" - 16, Gr 5

NUT, 3/8"-16, G5

4шт.

40

131-94

LOCK NUT,3/8"-16, GB

NUT - lock, elastic

2шт.

41

195-525

WASHER,3/8", SAE

(13/32 x 13/16 x 1/16") (10.32 x 20.64 x 1.59 mm) 3/8", SAE

4шт.

42

A75568

BOLT

- mounting, rear, Serial Range: cap-cab

2шт.

43

195-2036

WASHER,13/32" x 2" x .109"

- 13/32" ID x 2" OD (10.32 x 50.8 MM)

2шт.

44

192-21

LOCK WASHER,3/8"

WASHER, LOCK, 3/8"

2шт.

45

129-103

NUT,Hex, 3/8" - 16, Gr 5

NUT, 3/8"-16, G5

2шт.

46

A76163

GUARD - platform, rear

1шт.

Выбрано товаров: 49