Запчасти Case IH 2470 (456) - LOWER SEAT SUSPENSION, 15 DEGREE SWIVEL SEAT, P.I.N. 8792901 AND AFTER, CONTD (09) - CHASSIS/ATTACHMENTS

Схема запчастей Case IH 2470 - (456) - LOWER SEAT SUSPENSION, 15 DEGREE SWIVEL SEAT, P.I.N. 8792901 AND AFTER, CONTD (09) - CHASSIS/ATTACHMENTS
39
40
50
48
35
46
32
47
31
30
33
61
57
49
59
56
37
58
34
55
36
60
33
46
45
57
38
FIT
1:1
100%

Артикул

Название

Примечание

Количество

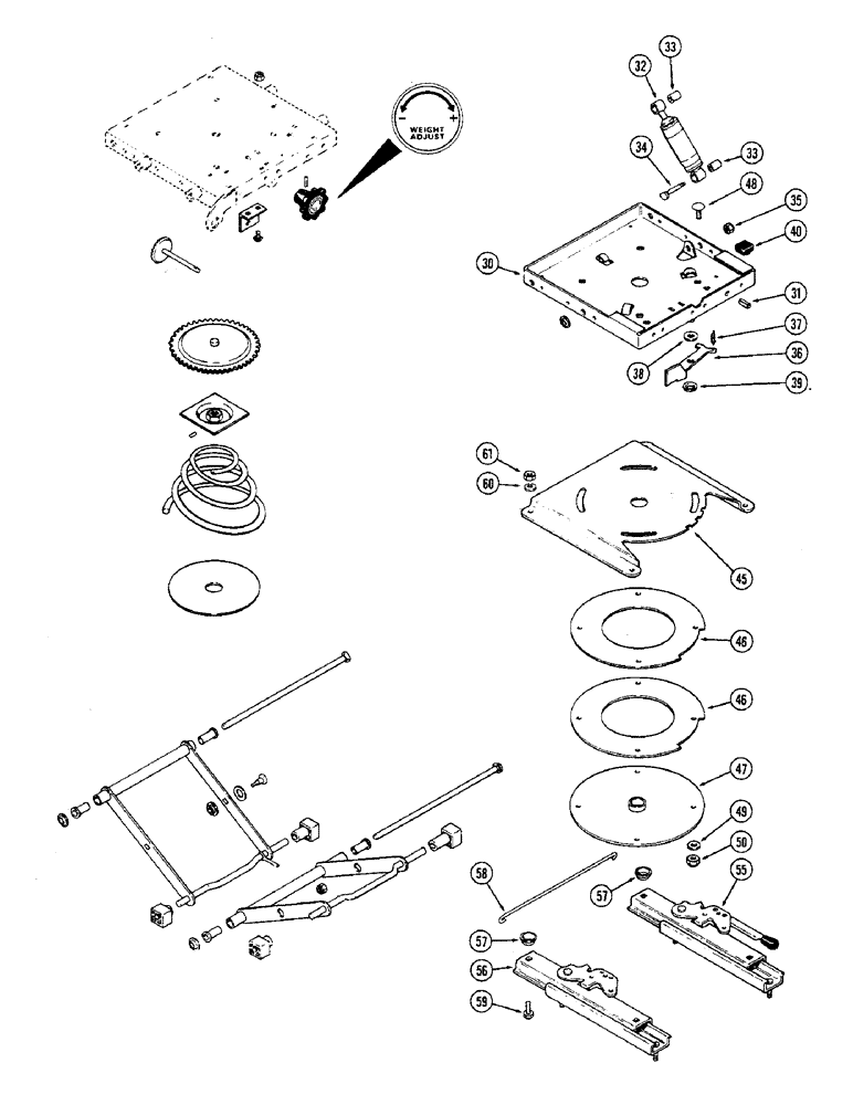
A139917

SEAT

AND SUSPENSION ASSEMBLY - (15 degree swivel), Includes: Ref. 30 - 61

1шт.

30

A45525

BASE

ASSEMBLY - swivel

1шт.

31

138-34

PIN - roll, 1/4 x 1"

1шт.

32

A45503

SHOCK ABSORBER

1шт.

33

A45501

BUSHING,0.504" ID x 0.87" OD x 1.417"

BEARING - shock absorber

2шт.

34

A45056

STEP BOLT

BOLT - shoulder (Replaces A45502)

1шт.

35

131-203

LOCK NUT,3/8"-16, GB, LH

NUT - 3/8" NC hex. nylon insert

1шт.

36

A45520

LATCH

- swivel

1шт.

37

A45521

SPRING

- latch swivel

1шт.

38

A45519

WASHER

- spacer, 33/64 x 1-1/8 x 1/16" (13.10 x 28.57 x 1.59 MM)

2шт.

39

131-1351

FLANGE NUT,Flg, 1/4"-20

FASTENER - push-on

2шт.

40

A45054

BUMPER,Neoprene

- seat suspension (Replaces A45509)

2шт.

45

A45518

PLATE

- swivel latch

1шт.

46

A45514

DISC

BUSHING - swivel plate

2шт.

47

A45526

PLATE

- swivel, lower

1шт.

48

11-620

CARRIAGE BOLT,Short NK, 3/8"-16 x 1 1/4", G2

BOLT - 3/8 x 1-1/4" NC round head square neck, grade 2

4шт.

49

195-25

WASHER,3/8"

- 13/32 x 13/16 x 1/16" (10.32 x 20.64 x 1.59 MM)

4шт.

50

131-6

LOCK NUT,3/8"-16, GC

NUT - lock, 3/8" NC Nylok

4шт.

55

A45522

SLIDE

ASSEMBLY - LH seat mounting (Includes handle)

1шт.

A45060

SPRING

- slide return

1шт.

56

A45523

SLIDE

ASSEMBLY - RH, seat mounting

1шт.

A45060

SPRING

- slide return

1шт.

57

NSS

NOT SOLD SEPARAT

SPACER - (Supplied with slides)

4шт.

58

A45524

ROD

- latch, slide connecting

1шт.

59

A47172

BOLT

- carriage, lower base

4шт.

60

92-5

LOCK WASHER,5/16"

4шт.

61

9635082

NUT,5/16" - 18, Gr 5

- 5/16" NC hex.

4шт.

Выбрано товаров: 27