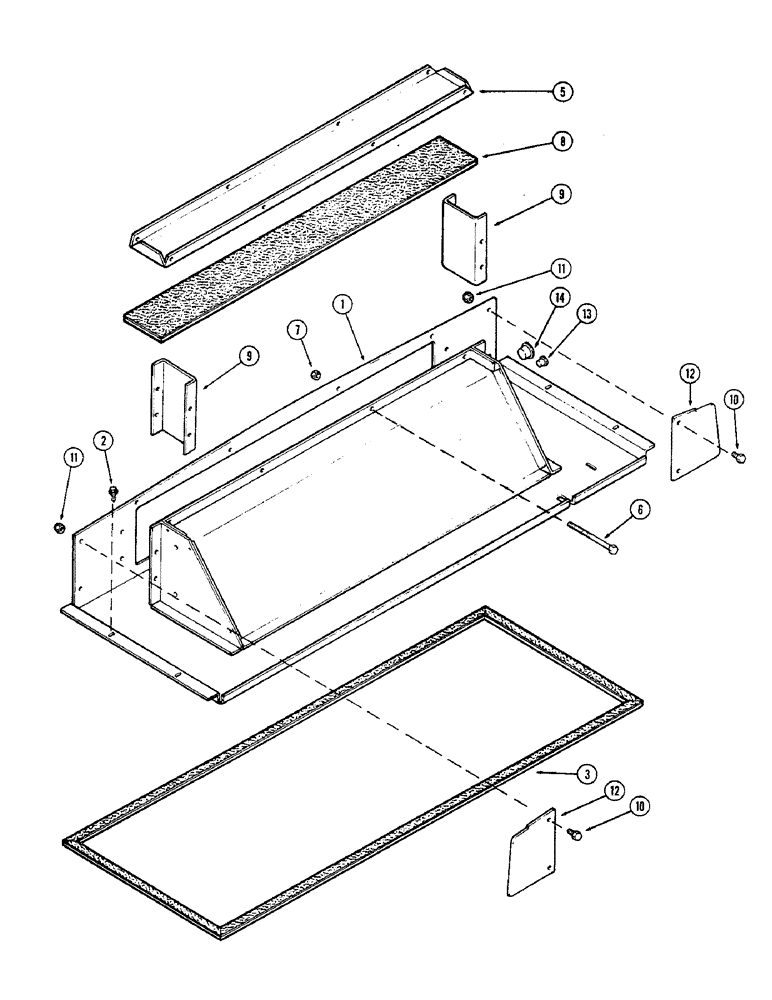
Запчасти Case IH 2470 (506) - CAB, PLENUM, CAB SERIAL NO. 7864002 AND AFTER (09) - CHASSIS/ATTACHMENTS

Схема запчастей Case IH 2470 - (506) - CAB, PLENUM, CAB SERIAL NO. 7864002 AND AFTER (09) - CHASSIS/ATTACHMENTS
5
14
7
11
8
1
9
13
2
12
12
11
3
6
10
10
9
FIT
1:1
100%

Артикул

Название

Примечание

Количество

1

F89395

CHANNEL

DUCT - air

1шт.

2

187-1088

SELF-TAP SCREW,Hex Wash Hd, #10 x 1/2"

SCREW - #10-16 x 1/2" washer head, self-tapping

4шт.

3

NSS

NOT SOLD SEPARAT

SEAL - duct floor, 111-1/2" (2832.1 MM) (Order F64119)

1шт.

F64119

SEALING STRIP

- seal, 100' roll, Serial Range: (Cut-length)

1шт.

5

F63841

COVER

- top, air duct

1шт.

6

113-49

BOLT,Hex, 1/4" - 20 x 4", Gr 5

- 1/4 x 4" NC hex., grade 5

8шт.

7

86625061

NUT,1/4"-20, GB

NUT - 1/4" NC hex. lock

8шт.

8

F63671

SEAL

- top cover

1шт.

9

F63614

PLATE ASSY.

PLATE - filler, air duct side

2шт.

10

113-1

BOLT,Hex, 1/4" - 20 x 1/2", Gr 5

4шт.

11

86625061

NUT,1/4"-20, GB

NUT - 1/4" NC hex. lock

4шт.

12

F64013

PLATE ASSY.

PLATE - end, air duct (Without air conditioning)

1шт.

13

353-3

PLUG,Cap, .302" OD

- plastic, 5/16" hole (7.94 MM) (Without heater)

4шт.

14

353-14

PLUG,Cap, .787" OD

- plastic, 13/16" hole (20.64 MM) (Without heater)

2шт.

Выбрано товаров: 14