Запчасти Case IH 2470 (096) - ELECTRICAL EQUIP. MOUNTING, SOLENOID STARTER SWITCH & CIRCUIT BREAKER, P.I.N. 8825001 - 8826412 (04) - ELECTRICAL SYSTEMS

Схема запчастей Case IH 2470 - (096) - ELECTRICAL EQUIP. MOUNTING, SOLENOID STARTER SWITCH & CIRCUIT BREAKER, P.I.N. 8825001 - 8826412 (04) - ELECTRICAL SYSTEMS
22
33
32
8
14
4
23
26
21
28
28
13
3
7
29
24
29
20
10
10
6
5
35
1
27
10
9
2
15
11
34
9
9
12
25
FIT
1:1
100%

Артикул

Название

Примечание

Количество

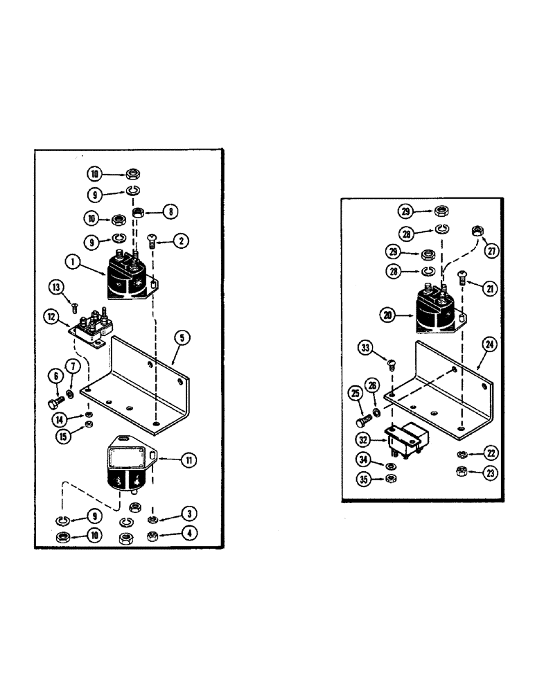
1

A39079

SOLENOID

SWITCH - starter solenoid

1шт.

2

175-417

SCREW,Sl Truss Hd, 1/4" - 20 x 1"

- 1/4 x 1" NC truss head

2шт.

3

192-19

LOCK WASHER,Helical Spring, 0.256" ID, CST, ZND

WASHER, LOCK, 1/4"

2шт.

4

7770

NUT,Hex, 1/4 - 20, Cl 5

1/4"-20, G5

2шт.

5

A75835

BRACKET

- solenoid mounting (Order A143909)

1шт.

6

113-118

BOLT,Hex, 5/16" - 18 x 5/8", Gr 5

2шт.

7

192-20

LOCK WASHER,Helical Spring, 0.318" ID, CST, ZND

WASHER, LOCK, 5/16"

2шт.

8

193-1000

NUT,Keps, w/LW,#10-32

- #10 NF hex. Keps

2шт.

9

192-20

LOCK WASHER,Helical Spring, 0.318" ID, CST, ZND

WASHER, LOCK, 5/16"

4шт.

10

9635082

NUT,5/16" - 18, Gr 5

4шт.

11

A143500

SOLENOID SWITCH

SOLENOID - cab

1шт.

12

A59704

BREAKER

- circuit

1шт.

13

182-549

SCREW,Slotted Pan Hd, #8-32 x 3/4"

- machine, #8 x 3/4" NC round head

2шт.

14

192-16

LOCK WASHER,Helical Spring, #8, 0.17" ID, CST, ZND

Washer, Lock, #8

2шт.

15

129-16

NUT,#8-32

2шт.

20

A39079

SOLENOID

SWITCH - starter solenoid

1шт.

21

175-402

SCREW,Sl Truss Hd, 1/4" - 20 x 5/8"

- 1/4"-20 x 5/8" truss head

2шт.

22

192-19

LOCK WASHER,Helical Spring, 0.256" ID, CST, ZND

WASHER, LOCK, 1/4"

2шт.

23

7770

NUT,Hex, 1/4 - 20, Cl 5

1/4"-20, G5

2шт.

24

A75835

BRACKET

- solenoid mounting (Order A143909)

1шт.

25

113-118

BOLT,Hex, 5/16" - 18 x 5/8", Gr 5

2шт.

26

192-20

LOCK WASHER,Helical Spring, 0.318" ID, CST, ZND

WASHER, LOCK, 5/16"

2шт.

27

193-1000

NUT,Keps, w/LW,#10-32

- #10 NF Keps

1шт.

28

192-20

LOCK WASHER,Helical Spring, 0.318" ID, CST, ZND

WASHER, LOCK, 5/16"

2шт.

29

9635082

NUT,5/16" - 18, Gr 5

2шт.

32

A59704

BREAKER

- circuit

1шт.

33

182-549

SCREW,Slotted Pan Hd, #8-32 x 3/4"

- machine, #8 x 3/4" NC round head

2шт.

34

192-16

LOCK WASHER,Helical Spring, #8, 0.17" ID, CST, ZND

Washer, Lock, #8

2шт.

35

129-16

NUT,#8-32

2шт.

Выбрано товаров: 29