Запчасти Case IH 2470 (190) - HYDRAULIC FILTERS, HOUSING AND MANIFOLD (08) - HYDRAULICS

Схема запчастей Case IH 2470 - (190) - HYDRAULIC FILTERS, HOUSING AND MANIFOLD (08) - HYDRAULICS
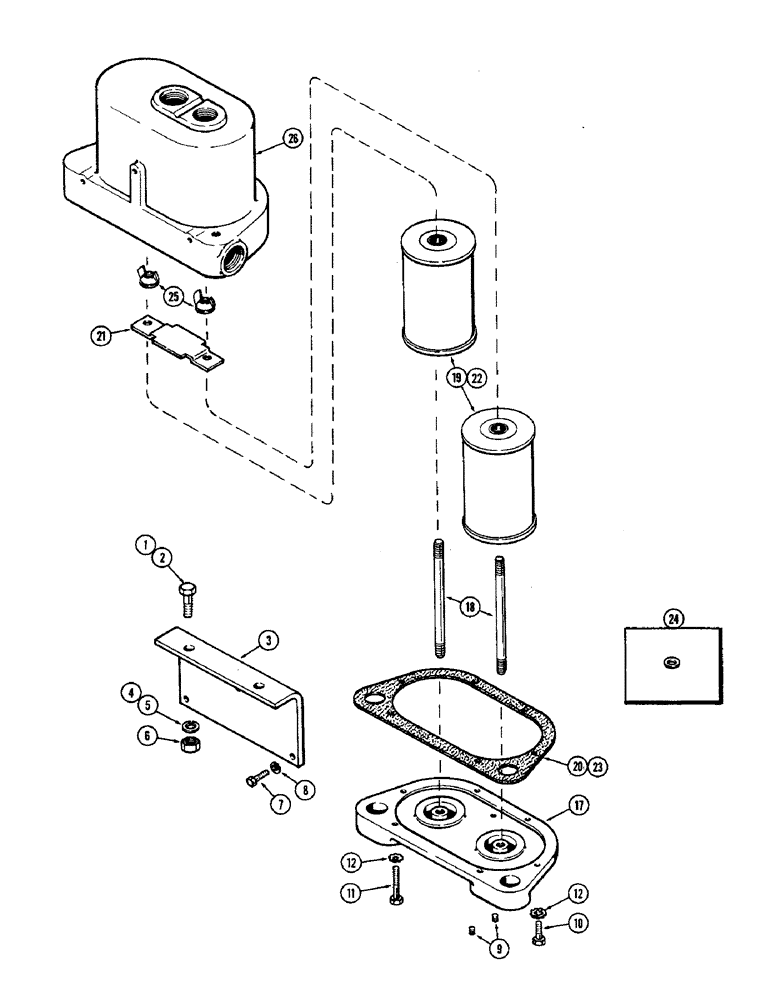
5
22
6
9
12
2
1
3
17
19
12
23
4
24
20
11
26
8
7
18
10
21
25
FIT
1:1
100%

Артикул

Название

Примечание

Количество

1

13-824

BOLT,Hex, 1/2" - 13 x 1-1/2", Gr 5, Full Thd

(Used w/PTO) Hex, 1/2"-13 x 1 1/2", G5, Full Thd

2шт.

2

113-410

BOLT,Hex, 1/2" - 13 x 1-1/2", Gr 5, Full Thd

(Used w/o P.T.O.) Hex, 1/2"-13 x 1 1/2", G5, Full Thd

2шт.

3

A75478

SUPPORT

BRACKET - filter mounting

1шт.

4

92-8

LOCK WASHER,1/2"

(Used w/P.T.O.) 1/2"

2шт.

5

192-23

LOCK WASHER,1/2"

WASHER, LOCK, , Used w/o P.T.O. 1/2"

2шт.

6

129-105

NUT,Hex, 1/2" - 13, Gr 5

2шт.

7

13-620

BOLT,Hex, 3/8" - 16 x 1-1/4", Gr 5, Full Thd

3шт.

8

92-6

LOCK WASHER,3/8"

3шт.

9

221-1010

PLUG,Sq Hd, 1/4"-18 NPTF

- pipe (1/4" square head)

2шт.

10

13-620

BOLT,Hex, 3/8" - 16 x 1-1/4", Gr 5, Full Thd

4шт.

11

13-636

BOLT,Hex, 3/8" - 16 x 2-1/4", Gr 5

2шт.

12

193-46

LOCK WASHER,Ext-Int Tooth, 3/8"

WASHER - lock (int./ext. teeth type)

6шт.

17

A63340

MANIFOLD

- hydraulic filter

1шт.

18

A63342

STUD

- filter

2шт.

A44012

HYDRAULIC OIL FILTER

KIT - filter element (1st used trac. ser. no. 8713092), Includes: Ref. 19 and 20

1шт.

19

NSS

NOT SOLD SEPARAT

ELEMENT - hyd. oil filter (Outer wrapper is metal) (Order A44012)

2шт.

20

A63341

GASKET

- manifold oil filter

1шт.

21

A76474

COVER

BAFFLE - hydraulic filter (Used w/A44012 kit)

1шт.

A43702

ELEMENT

KIT - filter element (Used prior to trac. ser. no. 8713092), Includes: Ref. 22 and 23

1шт.

22

NSS

NOT SOLD SEPARAT

ELEMENT - hyd. oil filter (Outer wrapper is treated paper) (Order A43702)

2шт.

23

A63341

GASKET

- manifold oil filter

1шт.

24

95-8

WASHER,1/2"

- plain (Used w/A43702 kit) 1/2"

2шт.

25

129-400

WING NUT,1/2"-13

NUT - wing

2шт.

26

A75479

HOUSING - hydraulic filter

1шт.

Выбрано товаров: 24