Запчасти Case IH 2470 (228) - 3 POINT HITCH, OPTION DRAWBAR (09) - CHASSIS/ATTACHMENTS

Схема запчастей Case IH 2470 - (228) - 3 POINT HITCH, OPTION DRAWBAR (09) - CHASSIS/ATTACHMENTS
2
3
10
1
4
6
5
8
7
9
FIT
1:1
100%

Артикул

Название

Примечание

Количество

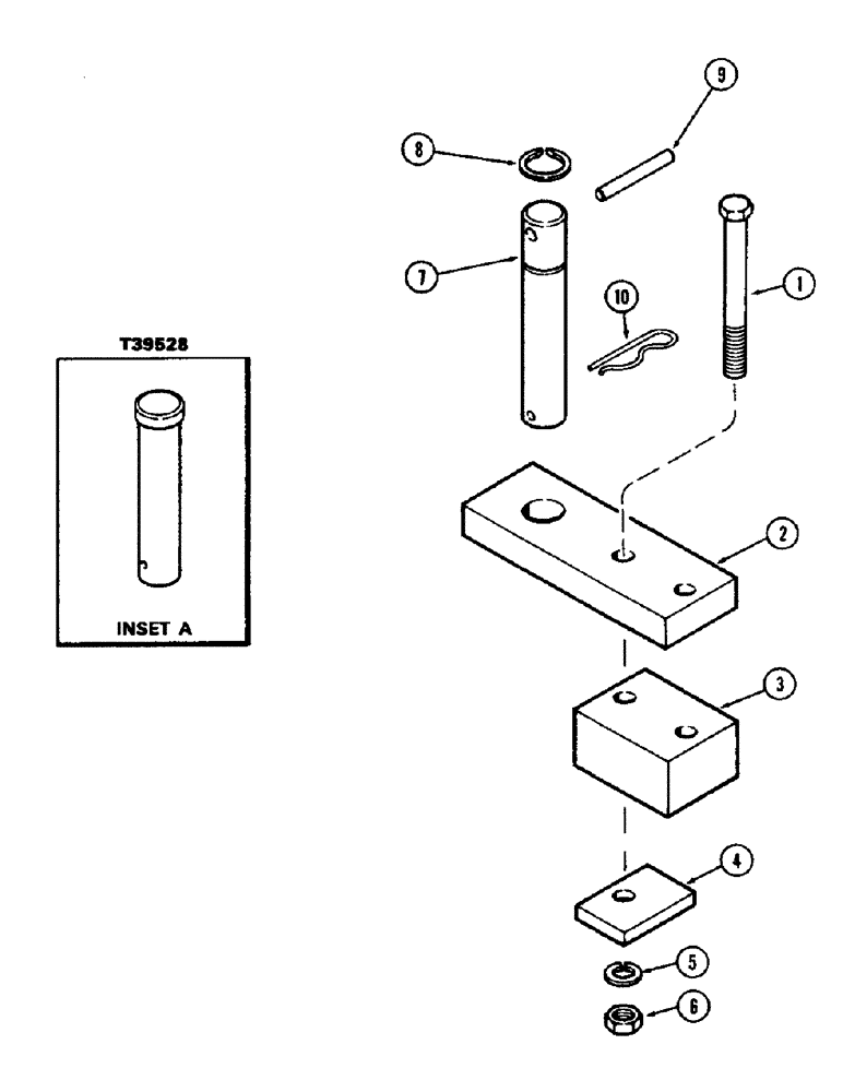
1

113-776

BOLT,Hex, 3/4" - 10 x 7", Gr 5

- (3/4 x 7" N.C. hex.)

2шт.

2

A75788

YOKE

DRAWBAR - option

1шт.

3

A75789

BUSHING

SPACER - drawbar

1шт.

4

A75790

SHIM

- drawbar

1шт.

5

192-27

LOCK WASHER,3/4"

WASHER, LOCK, 3/4"

2шт.

6

129-108

NUT,3/4"-10, G5

2шт.

7

A76332

PIN

ASSY. - implement attaching (Replaced T39528 - see inset A), Includes: Ref. 8 and 9

1шт.

8

A27568

RING

- snap

1шт.

9

135-817

GROOVED PIN,3/8" x 3 1/4", Type E

Pin, Grooved, - center groove 3/8" x 3 1/4", Type E

1шт.

10

136-251

HAIR PIN COTTER,Int, 7/16" x .177"

PIN, SPLIT (COTTER), , Hair Int, 7/16" x .177"

1шт.

Выбрано товаров: 10