Запчасти Case IH 2470 (064) - ENGINE EXHAUST PYROMETER, 504BDT DIESEL ENGINE (04) - ELECTRICAL SYSTEMS

Схема запчастей Case IH 2470 - (064) - ENGINE EXHAUST PYROMETER, 504BDT DIESEL ENGINE (04) - ELECTRICAL SYSTEMS
8
13
2
6
4
5
3
9
7
11
10
1
12
FIT
1:1
100%

Артикул

Название

Примечание

Количество

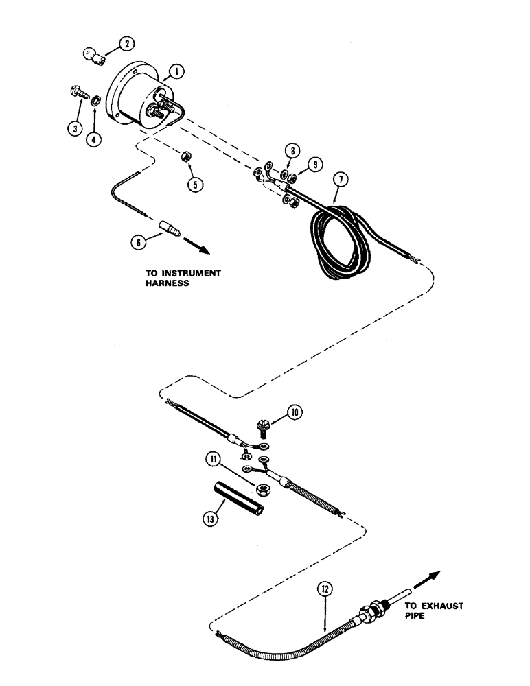
1

A76278

ELECTRICAL GAUGE

PYROMETER - engine exhaust (Replaced T39216)

1шт.

2

T29381

BULB

LAMP - pyrometer (12 volt)

1шт.

3

173-249

SCREW

- (#6-32 x 3/4" N.C. rd. hd.)

3шт.

4

192-15

LOCK WASHER,Helical Spring, #6, 0.145" ID, CST, ZND

Washer, Lock, #6

3шт.

5

129-15

NUT,#6-32

3шт.

6

L10051

TERMINAL CONNECTOR,Male

TERMINAL - pyrometer light wire

1шт.

7

T39218

HARNESS

- wire, pyrometer

1шт.

8

195-15

WASHER,#12

- (1/4 x 1/2 x 1/16")

2шт.

9

129-502

NUT,1/4"-28, Brass

2шт.

10

175-57

SCREW,Sl Truss Hd, #6 - 32 x 1/4"

- (#6-32 x 1/4" truss hd.)

2шт.

11

131-150

LOCK NUT,#6-32, GA

NUT, LOCK, #6-32, GA

2шт.

12

T39217

ELECTRICAL WIRE

THERMO COUPLE - pyrometer

1шт.

13

T39219

BOOT

- thermocouple connector

1шт.

Выбрано товаров: 13