Запчасти Case IH 2670 (268) - P.T.O. DROP BOX, OUTPUT SHAFT (08) - HYDRAULICS

Схема запчастей Case IH 2670 - (268) - P.T.O. DROP BOX, OUTPUT SHAFT (08) - HYDRAULICS
34
44
40
10
30
35
22
12
11
26
39
31
7
23
10
6
37
38
4
41
17
1
42
15
24
3
32
21
33
16
25
6
8
36
9
5
18
2
7
11
43
20
19
FIT
1:1
100%

Артикул

Название

Примечание

Количество

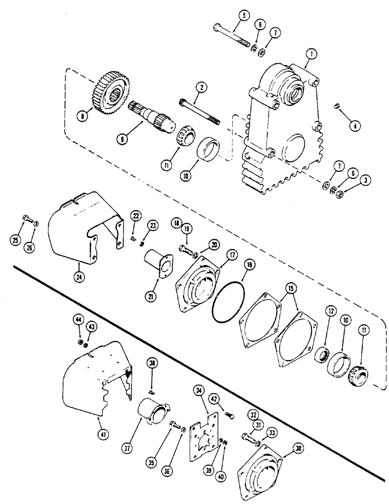
1

A146542

HOUSING

- P.T.O. drop box (Replaces A76089)

1шт.

2

166-149

SCREW,Flg, 3/4" - 10 x 8", Gr 8

BOLT - 3/4 x 8" N.C. 12 pt. Ferry hd. cap, grade 8

2шт.

3

25-1012

NUT,3/4"-10, G5

2шт.

4

221-846

PLUG,Hex Soc, 1"-11 1/2

- 1" P.T. hex sckt. hd.

1шт.

5

15-12112

BOLT (SPREADER),Hex, 3/4" - 10 x 7", Gr 5

BOLT - 3/4 x 7" N.C. hex, grade 5

2шт.

6

92-12

LOCK WASHER,3/4"

WASHER, LOCK, 3/4"

4шт.

7

A27449

WASHER

- mounting bolt (25/32 x 1-9/16 x 1/4")

4шт.

8

A76563

GEAR

- P.T.O. output

1шт.

9

A75217

SHAFT

- P.T.O. output

1шт.

10

A75218

BEARING CUP,4.1339" OD x 1.1417"

CUP - bearing, P.T.O. output shaft

2шт.

11

A75219

ROLLER BEARING,1.9685" ID x 1.4173"

CONE - bearing, P.T.O. output shaft

2шт.

12

A57708

SEAL

- oil, P.T.O. output shaft

1шт.

15

A75220

SHIM,.005" Thk

PTO output shaft brg. (0.12 mm) .005" Thk

1шт.

15

A75221

SHIM,.007" Thk

PTO output shaft brg (0.17 mm) .007" Thk

1шт.

16

R21494

O-RING,0.139" Thk x 7.234" ID, -263, Cl 6, 90 Duro

- P.T.O. output shaft bearing carrier

1шт.

17

A150048

CARRIER

- bearing, P.T.O. output shaft (1st used tractor ser. no. 8255020)

1шт.

18

113-2622

BOLT

- 5/8 x 1-1/2" N.C. hex, Polylock, grade 5

1шт.

19

13-1032

BOLT,Hex, 5/8" - 11 x 2", Gr 5

4шт.

20

92-10

LOCK WASHER,5/8"

WASHER, LOCK, 5/8"

5шт.

21

A58238

GUARD

- P.T.O. shaft (1st used tractor ser. no. 8255020)

1шт.

22

13-410

BOLT,Hex, 1/4" - 20 x 5/8", Gr 5, Full Thd

2шт.

23

92-4

LOCK WASHER,1/4"

WASHER, LOCK, 1/4"

2шт.

24

A62391

GUARD

SHIELD - P.T.O. (1st used tractor ser. no. 8255020)

1шт.

25

13-820

BOLT,Hex, 1/2" - 13 x 1-1/4", Gr 5, Full Thd

4шт.

26

92-8

LOCK WASHER,1/2"

4шт.

30

A75222

CARRIER - bearing, P.T.O. output shaft (Used before tractor ser. no. 8255020)

1шт.

31

113-2622

BOLT

- 5/8 x 1-1/2" N.C. hex, with Polylock, grade 5

1шт.

32

13-1032

BOLT,Hex, 5/8" - 11 x 2", Gr 5

4шт.

33

92-10

LOCK WASHER,5/8"

WASHER, LOCK, 5/8"

5шт.

34

A26878

PLATE - mounting, universal P.T.O. guard (Used before tractor ser. no. 8255020)

1шт.

35

13-820

BOLT,Hex, 1/2" - 13 x 1-1/4", Gr 5, Full Thd

4шт.

36

92-8

LOCK WASHER,1/2"

4шт.

37

A20483

GUARD

- P.T.O. shaft

1шт.

38

13-612

BOLT,Hex, 3/8" - 16 x 3/4", Gr 5, Full Thd

2шт.

39

92-6

LOCK WASHER,3/8"

2шт.

40

25-106

NUT,3/8"-16, G5

- (3/8" N.C. hex)

2шт.

41

A27335

GUARD

SHIELD - P.T.O. (Used before tractor ser. no. 8255020)

1шт.

42

111-317

CARRIAGE BOLT,Short NK, 3/8"-16 x 1", G2

BOLT, CARRIAGE, Short NK, 3/8"-16 x 1", G2

2шт.

43

193-68

LOCK WASHER,Int Tooth, 3/8"

WASHER, LOCK, Int Tooth, 3/8"

2шт.

44

129-103

NUT,Hex, 3/8" - 16, Gr 5

NUT, 3/8"-16, G5

2шт.

Выбрано товаров: 40