Запчасти Case IH 2670 (008) - WATER MANIFOLD AND THERMOSTAT, 504BDT INTERCOOLED DIESEL ENGINE (02) - ENGINE

Схема запчастей Case IH 2670 - (008) - WATER MANIFOLD AND THERMOSTAT, 504BDT INTERCOOLED DIESEL ENGINE (02) - ENGINE
20
33
20
9
3
6
19
4
18
17
38
37
1
39
7
31
13
10
12
8
34
39
39
14
30
5
36
34
32
40
2
5
11
35
FIT
1:1
100%

Артикул

Название

Примечание

Количество

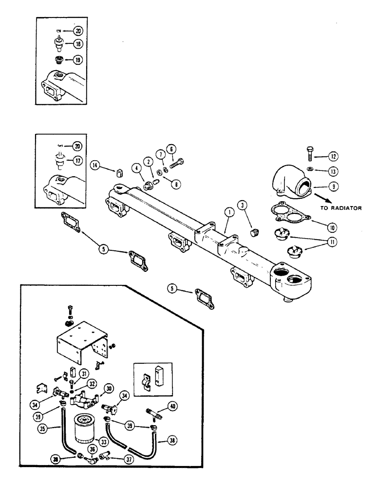
A153152

MANIFOLD

ASSY., Includes: Ref. 1 - 4

1шт.

1

NSS

NOT SOLD SEPARAT

MANIFOLD - water

1шт.

2

221-843

PLUG,Hex Soc, 3/8"-18

- pipe, 3/8" hex. socket hd

1шт.

3

221-844

PLUG,Hex Soc, 1/2"-14

- pipe, 1/2" hex., socket hd

2шт.

4

221-89

REDUCER,Hex, 1/2" x 3/8" NPT

BUSHING - reducer 1/2 to 3/8" hex

1шт.

5

A58637

MANIFOLD GASKET

- water manifold

3шт.

6

413-632

BOLT,Hex, 3/8" - 16 x 2", Gr 5

6шт.

7

92-6

LOCK WASHER,3/8"

6шт.

8

195-25

WASHER,3/8"

- 13/32 x 13/16 x 1/16" (1st used eng. ser. no. 10012911)

6шт.

9

A60689

HOUSING

- thermostat

1шт.

10

A58639

GASKET

- thermostat housing

1шт.

11

A57641

THERMOSTAT

- water manifold, 180 degrees (82 degrees C)

2шт.

12

13-620

BOLT,Hex, 3/8" - 16 x 1-1/4", Gr 5, Full Thd

3шт.

13

92-6

LOCK WASHER,3/8"

3шт.

14

221-4

DRAIN PLUG,Sq Hd, 1/2"-14 NPTF

PLUG - pipe, 1/2" sq. hd. (Order A66733)

1шт.

17

A66733

TRANSMITTER

UNIT - sender, engine temp. (1/2" P.T.) (Replaces A61787 and 221-1089)

1шт.

18

A61787

TRANSMITTER

UNIT - sender, engine temp. (3/8" P.T.) (Order A66733)

1шт.

19

221-1089

REDUCER,Hex, 1/2" x 3/8" NPT

BUSHING - reducer, 1/2 x 3/8" P.T. (Used with A61787 only), engine temperature sending unit

1шт.

20

193-1000

NUT,Keps, w/LW,#10-32

- #10 N.F. (Keps), engine temperature sending unit

1шт.

A46400

KIT

- water filter and conditioner, Includes: Ref. 30 - 32

1шт.

30

A152821

HEAD

- filter and valve, water kit

1шт.

31

13-624

BOLT,Hex, 3/8" - 16 x 1-1/2", Gr 5

- 3/8 x 1-1/2" NC hex, grade 5, water filter kit

4шт.

32

92-6

LOCK WASHER,3/8"

water filter kit 3/8"

4шт.

33

A151931

FILTER

CARTRIDGE - water filter kit, Includes: Ref. 34 - 40

1шт.

34

A154051

COCK, DRAIN

VALVE - water filter kit

2шт.

35

A154770

HOSE,0.38" ID x 6.10", SAE 20R3 PER SAE J20

9.60 mm ID x 154.90 mm, SAE 20R3 - Valve to Block, Water filter kit

1шт.

36

217-142

ELBOW,45 Degree Elbow, 3/8" Hose Barb x 1/4" Male NPTF

- 1/4" PT x 3/8" hose 45 degrees, water filter kit

1шт.

37

221-1691

TEE,Street, 1/4" NPT

CONNECTOR - branch, 1/4 x 1/4 x 1/4" (In block), water filter kit

1шт.

38

A154053

HEATER HOSE,0.38" ID x 11.20", SAE 20R3

- Valve to heater hose, Water filter kit 0.38" ID x 11.20", SAE 20R3

1шт.

39

214-253

HOSE CLAMP,#10, 0.56" - 1.06", Type F Worm

CLAMP - hose, 9/16 x 1-1/16 (14.29 x 26.99 MM), water filter kit

6шт.

40

A154014

CONNECTOR, ELEC

CONNECTOR - branch, heater hose split, water filter kit

1шт.

Выбрано товаров: 31