Запчасти Case IH 2670 (360) - A147433 REMOTE HYDRAULIC VALVE, WITHOUT RELIEF VALVE, FIRST USED TRACTOR SN 8826987 (CONT) (08) - HYDRAULICS

Схема запчастей Case IH 2670 - (360) - A147433 REMOTE HYDRAULIC VALVE, WITHOUT RELIEF VALVE, FIRST USED TRACTOR SN 8826987 (CONT) (08) - HYDRAULICS
61
73
74
75
48
77
62
77
69
72
73
56
55
62
55
75
76
59
60
58
45
74
52
52
50
60
66
46
72
57
76
51
67
56
53
47
54
68
61
49
57
65
59
47
58
FIT
1:1
100%

Артикул

Название

Примечание

Количество

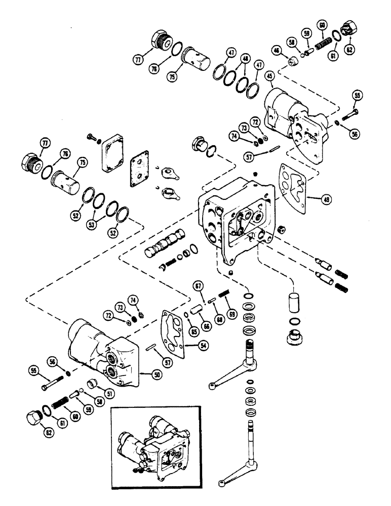
A147433

VALVE ASSY - control (Continued from Ref. 358), Includes: Ref. 45 - 77 and Ref. 2 - 41 on Figure 358

1шт.

45

A139951

HEAD

ASSY - remote valve, LH, Includes: Ref. 46 - 48

1шт.

46

NSS

NOT SOLD SEPARAT

SEAT - valve head

2шт.

47

A76898

RING

- back-up, 1-1/2 x 1-3/4 x 3/64" (38.1 x 44.45 x 1.19 MM)

4шт.

48

T13224

O-RING,1.484" ID x 1.762" OD x 0.139"

- 1-31/64 x 1-49/64 x 9/64" (37.70 x 44.84 x 57.19 MM)

4шт.

49

A143303

GASKET

- valve head, LH

1шт.

Included w/ VALVE SEAL KIT, A43086

1шт.

50

A139949

HEAD

ASSY - remote valve, RH, Includes: Ref. 51 and 52

1шт.

51

NSS

NOT SOLD SEPARAT

SEAT - valve head

2шт.

52

A76898

RING

- back-up, 1-1/2 x 1-3/4 x 3/64" (38.1 x 44.45 x 1.19 MM)

4шт.

53

T13224

O-RING,1.484" ID x 1.762" OD x 0.139"

- 1-13/64 x 1-49/64 x 9/64" (37.70 x 44.84 x 3.5719 MM)

4шт.

54

A143304

GASKET

- valve head, RH

1шт.

Included w/ VALVE SEAL KIT, A43086

1шт.

55

13-644

BOLT,Hex, 3/8" - 16 x 2-3/4", Gr 5

- 3/8 x 2-3/4" NC hex, grade 5

8шт.

56

92-6

LOCK WASHER,3/8"

8шт.

57

A57559

SPOOL

PIN - return ball check

4шт.

58

211-28

BALL,13/32" Dia

- return, meter (10.32 MM) 13/32" Dia

4шт.

59

A76895

GUIDE

- return ball check spring

4шт.

60

A76896

SPRING

- return ball, 1/2" OD x 2" free length (12.7 x 50.8 MM)

4шт.

61

218-5008

O-RING,0.116" Thk x 0.924" ID, -912, Cl 6, 90 Duro

- 3/4 x 59/64 x 1/8" (19.05 x 23.41 x 3.17 MM)

4шт.

Included w/ VALVE SEAL KIT, A43086

1шт.

62

A76894

FITTING

- valve head

4шт.

65

A27891

O-RING,0.103" Thk x 0.362" ID, -110, Cl 5, 75 Duro

- thermal valve seat

2шт.

Included w/ VALVE SEAL KIT, A43086

1шт.

66

A137335

SEAT

- thermal valve, RH head

2шт.

67

211-3

BALL,1/8" Dia

- thermal valve, meter 1/8" Dia

2шт.

68

A137594

GUIDE

- thermal valve ball

2шт.

69

A57396

SPRING

- thermal valve, 11/32" OD x 1-1/8" free length (8.73 x 28.57 MM)

2шт.

72

195-516

WASHER,#12

- 1/4 x 9/16 x 1/16"

4шт.

73

A76892

SEAL

- valve head quick coupler

4шт.

74

A76893

SNAP RING,0.625", Int, #62

Ring, Snap, , valve head seal 0.625", Int, #62

4шт.

75

A147286

INSERT

- remote valve head

4шт.

76

A30915

O-RING,0.139" Thk x 1.359" ID, -220, Cl 5, 75 Duro

- 1-3/8 x 1-5/8 x 1/8" (34.925 x 41.275 x 3.17 MM)

4шт.

77

A147561

ADAPTER

ADAPTOR - remote valve head

4шт.

A43086

SEAL

KIT - valve seal, Includes: Ref. 49, 54, 61 65 and Ref. 8, 13, 16, 17, 18, 19, 21, 22, 23, 24, 38, 41 on Figure 358

1шт.

Выбрано товаров: 35