Запчасти Case IH 2670 (392) - DRAWBAR YOKE (08) - HYDRAULICS

Схема запчастей Case IH 2670 - (392) - DRAWBAR YOKE (08) - HYDRAULICS
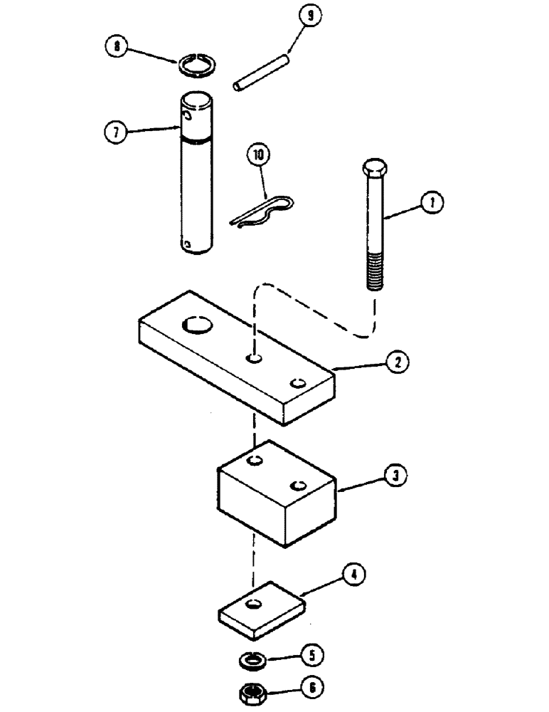
1
9
3
6
7
2
8
4
5
10
FIT
1:1
100%

Артикул

Название

Примечание

Количество

1

113-776

BOLT,Hex, 3/4" - 10 x 7", Gr 5

- 3/4 x 7" N.C. hex, grade 5, yoke to drawbar

2шт.

2

A75788

YOKE

- drawbar

1шт.

3

A75789

BUSHING

SPACER - drawbar yoke

1шт.

4

A75790

SHIM

- drawbar yoke

1шт.

5

192-27

LOCK WASHER,3/4"

WASHER, LOCK, 3/4"

2шт.

6

129-108

NUT,3/4"-10, G5

2шт.

7

A76332

PIN

ASSY. - implement attaching, Includes: Ref. 8 and 9

1шт.

8

A27568

RING

- snap

1шт.

9

138-326

LOCK PIN,3/8" x 3 1/4", Slotted

Pin, 3/8" x 3 1/4", Slotted

1шт.

10

136-251

HAIR PIN COTTER,Int, 7/16" x .177"

PIN, SPLIT (COTTER), , Hair Int, 7/16" x .177"

1шт.

Выбрано товаров: 10