Запчасти Case IH 2670 (404) - CHASSIS, SILLS, ENGINE AND TRANSMISSION SUPPORTS (09) - CHASSIS/ATTACHMENTS

Схема запчастей Case IH 2670 - (404) - CHASSIS, SILLS, ENGINE AND TRANSMISSION SUPPORTS (09) - CHASSIS/ATTACHMENTS
5
21
35
37
6
3
9
8
13
20
26
2
1
19
34
36
28
7
18
23
11
25
7
12
4
14
24
27
29
33
26
22
10
FIT
1:1
100%

Артикул

Название

Примечание

Количество

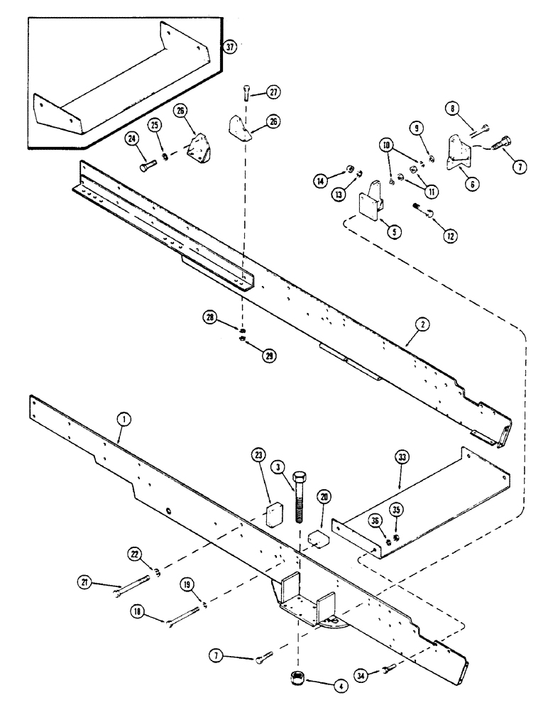
1

A139780

SILL - R.H. (Replaces A76672 and A140325)

1шт.

2

A140326

SILL - L.H. (Replaces A76673)

1шт.

3

28-14120

BOLT,Hex, 7/8" - 14 x 7-1/2", Gr 8

- 7/8 x 7-1/2" N.F. hex, grade 8

8шт.

4

131-187

LOCK NUT,7/8"-14, GB

LOCKNUT - 7/8"-14 N.F.

8шт.

5

A75676

SUPPORT - engine mounting, R.H.

1шт.

6

A75677

SUPPORT - engine mounting, L.H.

1шт.

7

113-620

BOLT,Hex, 5/8" - 11 x 2-1/4", Gr 5

- 5/8 x 2-1/4" N.C. hex, grade 5, support to sill, 3 on R.H. side

5шт.

7

113-626

BOLT,Hex, 5/8" - 11 x 2-1/2", Gr 5

Support to sill, lower rear, R.H. side Hex, 5/8"-11 x 2 1/2", G5

1шт.

8

113-621

BOLT,Hex, 5/8" - 11 x 2-3/4", Gr 5

Support and muffler brace to sill Hex, 5/8"-11 x 2 3/4", G5

2шт.

9

195-108

WASHER,5/8"

- 7/8 x 1-3/4 x 5/32"

2шт.

10

192-25

LOCK WASHER,5/8"

WASHER, LOCK, 5/8"

8шт.

11

129-107

NUT,5/8"-11, G5

8шт.

12

113-730

BOLT,Hex, 3/4" - 10 x 2-3/4", Gr 5

- 3/4 x 2-3/4" N.C. hex, grade 5, support to engine

4шт.

13

192-27

LOCK WASHER,3/4"

WASHER, LOCK, 3/4"

4шт.

14

129-108

NUT,3/4"-10, G5

4шт.

18

113-643

BOLT,Hex, 5/8" - 11 x 5-1/2", Gr 5

4шт.

19

192-25

LOCK WASHER,5/8"

WASHER, LOCK, 5/8"

4шт.

20

A75685

SPACER

- front, trans.

2шт.

21

113-737

BOLT,Hex, 3/4" - 10 x 6", Gr 5

4шт.

22

192-27

LOCK WASHER,3/4"

WASHER, LOCK, 3/4"

4шт.

23

A75684

SPACER

- center, trans

2шт.

24

113-708

BOLT,Hex, 3/4" - 10 x 2", Gr 5

Bracket to transmission case Hex, 3/4"-10 x 2", G5

4шт.

25

192-27

LOCK WASHER,3/4"

WASHER, LOCK, 3/4"

4шт.

26

A75681

BRACKET - trans. rear mount

2шт.

27

113-600

BOLT,Hex, 5/8" - 11 x 1-3/4", Gr 5

Bracket to sill Hex, 5/8"-11 x 1 3/4", G5

4шт.

28

192-25

LOCK WASHER,5/8"

WASHER, LOCK, 5/8"

4шт.

29

129-107

NUT,5/8"-11, G5

4шт.

33

A76756

PLATE

- front frame enclosure (Used without air cond.)

1шт.

34

113-417

BOLT,Hex, 1/2" - 13 x 1-1/4", Gr 5, Full Thd

4шт.

35

129-105

NUT,Hex, 1/2" - 13, Gr 5

4шт.

36

192-23

LOCK WASHER,1/2"

WASHER, LOCK, 1/2"

4шт.

37

A135409

SHIELD - air compressor (With air cond.)

1шт.

Выбрано товаров: 32