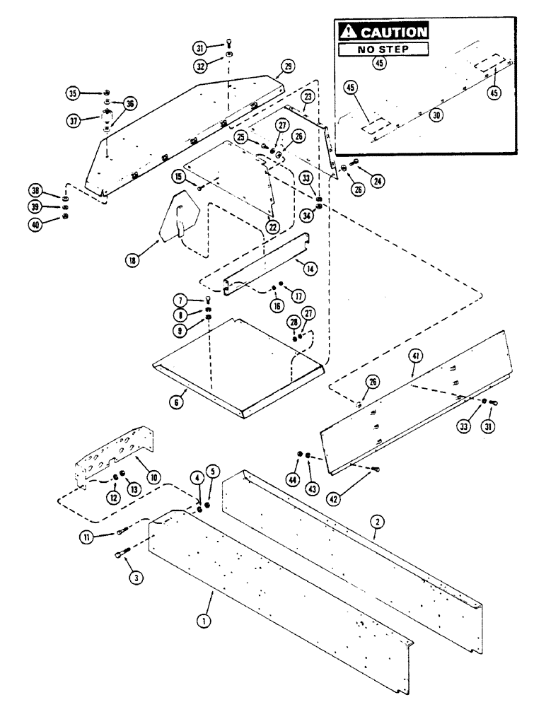
Запчасти Case IH 2670 (416) - PLATFORM AND SIDE PLATES, USED BEFORE P.I.N. 8826987 (09) - CHASSIS/ATTACHMENTS

Схема запчастей Case IH 2670 - (416) - PLATFORM AND SIDE PLATES, USED BEFORE P.I.N. 8826987 (09) - CHASSIS/ATTACHMENTS
33
12
23
32
9
1
39
31
40
10
16
36
31
8
11
38
34
45
43
18
26
4
37
26
6
26
24
45
29
27
42
3
41
2
35
22
44
45
17
7
25
28
5
33
15
13
14
27
30
FIT
1:1
100%

Артикул

Название

Примечание

Количество

1

A76610

PLATE - side, R.H.

1шт.

2

A76611

PLATE - side, L.H.

1шт.

3

113-410

BOLT,Hex, 1/2" - 13 x 1-1/2", Gr 5, Full Thd

Side plate to sill Hex, 1/2"-13 x 1 1/2", G5, Full Thd

4шт.

3

113-421

BOLT,Hex, 1/2" - 13 x 2", Gr 5

Side plate to sill Hex, 1/2"-13 x 2", G5

2шт.

3

113-600

BOLT,Hex, 5/8" - 11 x 1-3/4", Gr 5

Side plate to sill Hex, 5/8"-11 x 1 3/4", G5

8шт.

3

113-620

BOLT,Hex, 5/8" - 11 x 2-1/4", Gr 5

- 5/8 x 2-1/4" N.C. hex, grade 5, side plate to sill

8шт.

4

192-25

LOCK WASHER,5/8"

WASHER, LOCK, 5/8"

26шт.

4

80679

LOCK WASHER,1/20.507 CST ZND

WASHER, LOCK, 1/2"

6шт.

5

129-107

NUT,5/8"-11, G5

26шт.

5

129-105

NUT,Hex, 1/2" - 13, Gr 5

6шт.

6

A75697

PLATFORM - rear

1шт.

7

113-424

BOLT,Hex, 1/2" - 13 x 1", Gr 5, Full Thd

Platform to side plates Hex, 1/2"-13 x 1", G5, Full Thd

6шт.

8

192-23

LOCK WASHER,1/2"

WASHER, LOCK, 1/2"

6шт.

9

195-533

WASHER,1/2", SAE

- 17/32 x 1-1/16 x 1/8"

6шт.

10

A76612

SUPPORT - side plate, hyd. couplings

1шт.

11

113-410

BOLT,Hex, 1/2" - 13 x 1-1/2", Gr 5, Full Thd

Support to side plate Hex, 1/2"-13 x 1 1/2", G5, Full Thd

6шт.

12

192-23

LOCK WASHER,1/2"

WASHER, LOCK, 1/2"

6шт.

13

129-105

NUT,Hex, 1/2" - 13, Gr 5

6шт.

14

A76023

BRACKET - platform, rear

1шт.

15

113-118

BOLT,Hex, 5/16" - 18 x 5/8", Gr 5

(SMV bracket to rear platform) Hex, 5/16"-18 x 5/8", G5, Full Thd

4шт.

16

192-20

LOCK WASHER,Helical Spring, 0.318" ID, CST, ZND

WASHER, LOCK, 5/16"

4шт.

17

9635082

NUT,5/16" - 18, Gr 5

4шт.

18

A59450

WARNING SIGN

EMBLEM - SMV (Slow moving vehicle)

1шт.

22

A149057

SHEET

- platform side, R.H. (Replaces A76026)

1шт.

23

A149058

SHEET

- platform side, L.H. (Replaces A76027)

1шт.

24

113-221

BOLT,Hex, 3/8" - 16 x 7/8", Gr 5

Side sheet to platform Hex, 3/8"-16 x 7/8", G5, Full Thd

8шт.

25

113-206

BOLT,Hex, 3/8" - 16 x 3/4", Gr 5, Full Thd

Side sheet to guard Hex, 3/8"-16 x 3/4", G5, Full Thd

6шт.

26

195-525

WASHER,3/8", SAE

- 13/32 x 13/16" x 16 ga.

20шт.

27

192-21

LOCK WASHER,3/8"

WASHER, LOCK, 3/8"

14шт.

28

129-103

NUT,Hex, 3/8" - 16, Gr 5

NUT, 3/8"-16, G5

8шт.

29

A147285

CAP

- guard (Replaces A76164 and A141222)

1шт.

30

A76164

CAP - guard (Order A141222)

1шт.

31

113-206

BOLT,Hex, 3/8" - 16 x 3/4", Gr 5, Full Thd

11шт.

32

195-525

WASHER,3/8", SAE

-13/32 x 13/16" x 16 ga.

6шт.

33

192-21

LOCK WASHER,3/8"

WASHER, LOCK, 3/8"

11шт.

34

129-103

NUT,Hex, 3/8" - 16, Gr 5

NUT, 3/8"-16, G5

2шт.

35

131-94

LOCK NUT,3/8"-16, GB

NUT - lock, elastic

2шт.

36

195-525

WASHER,3/8", SAE

- 13/32 x 13/16" x 16 ga.

4шт.

37

A75568

BOLT

- mounting, rear, Serial Range: cap-cab

2шт.

38

195-2036

WASHER,13/32" x 2" x .109"

- 13/32" I.D. x 2" O.D.

2шт.

39

192-21

LOCK WASHER,3/8"

WASHER, LOCK, 3/8"

2шт.

40

129-103

NUT,Hex, 3/8" - 16, Gr 5

NUT, 3/8"-16, G5

2шт.

41

A76163

GUARD - platform, rear

1шт.

42

113-206

BOLT,Hex, 3/8" - 16 x 3/4", Gr 5, Full Thd

4шт.

43

192-21

LOCK WASHER,3/8"

WASHER, LOCK, 3/8"

2шт.

44

129-103

NUT,Hex, 3/8" - 16, Gr 5

NUT, 3/8"-16, G5

2шт.

45

321-3292

DECAL

- caution - no step (Used with A76164 guard cap)

2шт.

Выбрано товаров: 47